专利状态
防火耐用的快速自动堆积门
专利申请进度
申请
2020-09-24
授权
2021-09-10
预估到期
2030-09-24
专利基础信息
申请号 申请日
授权公布号 授权公告日
分类号
分类
申请人名称 东莞市兴德门业有限公司
申请人地址
专利法律状态
  • 2021-09-10
    授权
    状态信息
    授权
摘要
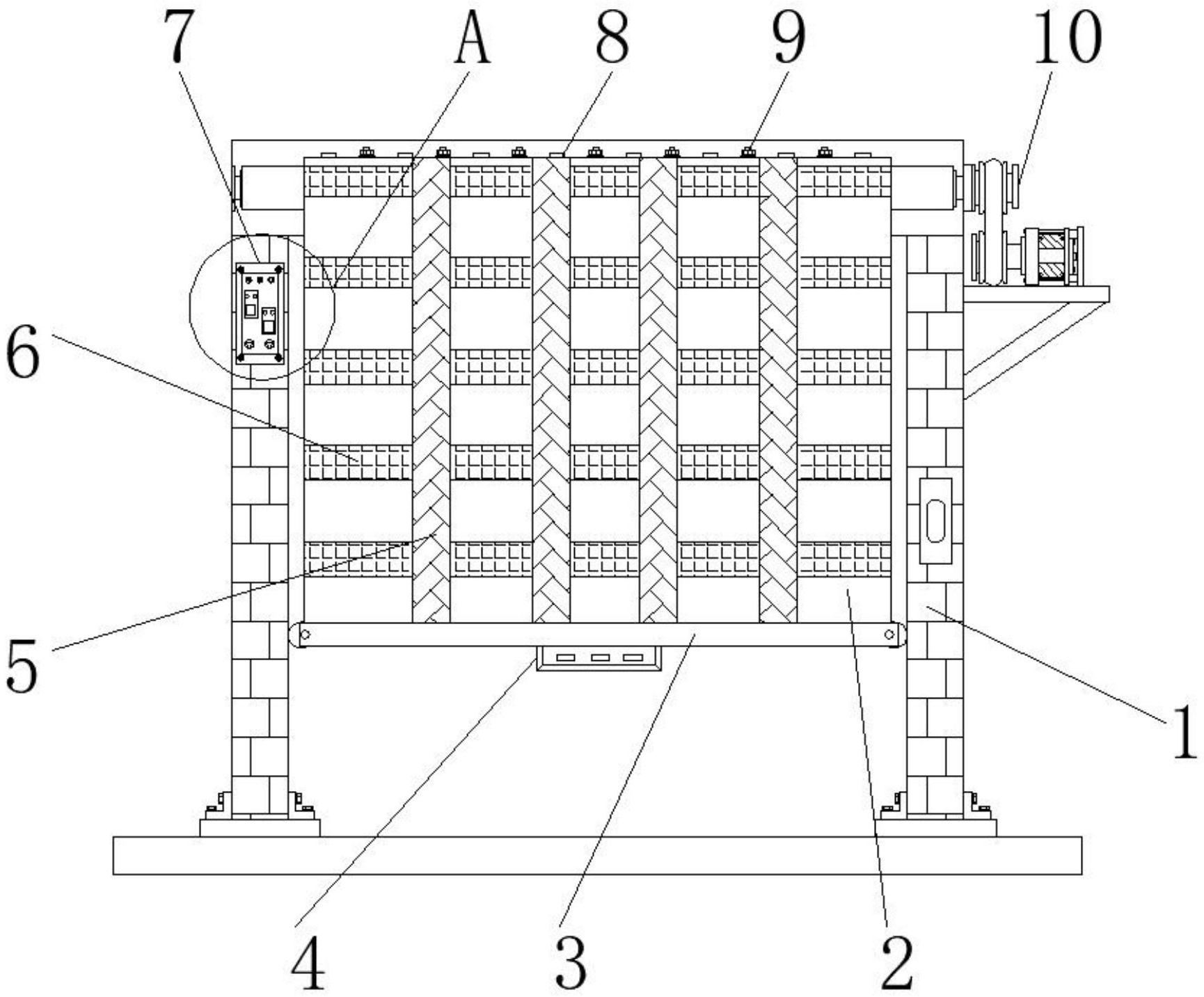
本实用新型公开了防火耐用的快速自动堆积门,包括支撑墙、门体、挂杆、红外传感器和第一加强筋,所述支撑墙一侧的外壁上安装有门体,所述门体底端的一侧安装有挂杆,所述挂杆底端的一侧安装有红外传感器,所述门体表面的一侧安装有第一加强筋,所述门体表面远离第一加强筋的一侧安装有第二加强筋。本实用新型通过驱动电机转动带动主动轮转动,主动轮转动带动传动带转动,传动带转动带动从动轮转动,从而带动收卷筒转动,收卷筒转动带动门体开始转动,从而将门体散开,门体开始下移,带动挂杆往下移动,挂杆两侧的滑轮顺着支撑墙的外侧壁下滑,可以确保门体下落的稳固性,实现了该装置便于快速稳固上升的功能。

返回首页 | 品牌大全 | 品牌排行 | 品牌问答 | 品牌资讯 | 品牌价值 | 关于我们 | 联系我们 | 免责声明

Copyright 2013-2020 品牌门户,牌子123(www.paizi123.cn) 版权所有 备案号:苏ICP备13009020号-7

网站地图