专利状态
一种物流电动车无线电能充电装置
专利申请进度
申请
2021-11-30
授权
2022-04-26
预估到期
2031-11-30
专利基础信息
申请号 申请日
授权公布号 授权公告日
分类号
分类
申请人名称 新蕾车业无锡有限公司
申请人地址
专利法律状态
  • 2022-04-26
    授权
    状态信息
    授权
摘要
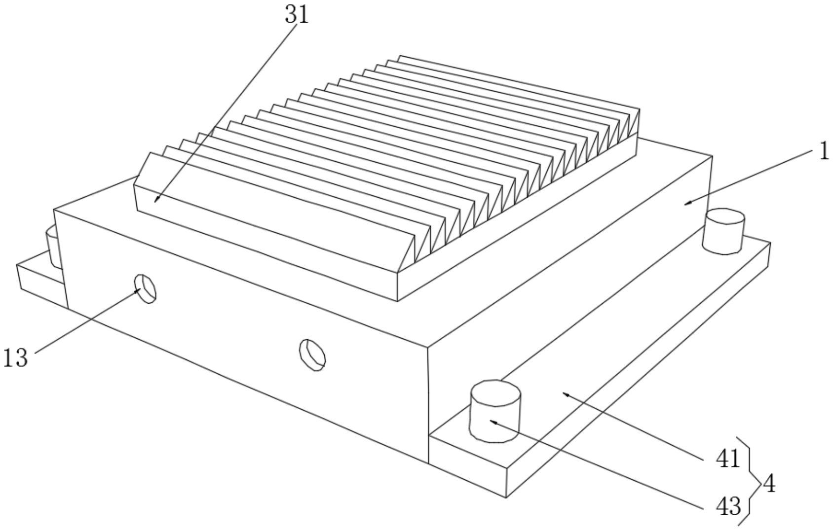
本实用新型公开了一种物流电动车无线电能充电装置,具体涉及物流电动车领域,包括罩体,本实用新型通过设有弹簧、环套、限位板、丝杠、固定板,有利于工作人员使用丝杠与对应圆孔的内环壁进行螺纹连接,使得两个限位板挤压对应的弹簧使其进行收缩,致使工作人员将充电板放入罩体内部,使得弹簧的复位收缩力将充电板进行稳定地夹持,安装散热板、通风孔,有利于工作人员使用两个卡块分别与对应卡槽进行卡接连接,使得散热板与对应罩体的顶端紧密连接,打开外接控制散热板的电源开关,使得散热板受到电源的驱使,促使散热板和通风孔对罩体内部存放的充电板进行散热,继而使得充电板保持正常的工作。

返回首页 | 品牌大全 | 品牌排行 | 品牌问答 | 品牌资讯 | 品牌价值 | 关于我们 | 联系我们 | 免责声明

Copyright 2013-2020 品牌门户,牌子123(www.paizi123.cn) 版权所有 备案号:苏ICP备13009020号-7

网站地图