专利状态
一种循环散热的电动车液压减震装置
专利申请进度
申请
2018-11-20
授权
2019-09-10
预估到期
2028-11-20
专利基础信息
申请号 申请日
授权公布号 授权公告日
分类号
分类
申请人名称 新蕾车业无锡有限公司
申请人地址
专利法律状态
  • 2019-09-10
    授权
    状态信息
    授权
摘要
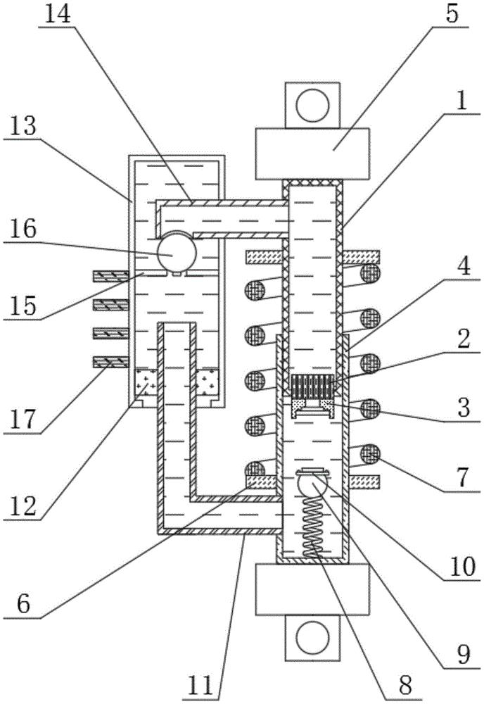
本实用新型涉及电动车技术领域,尤其为一种循环散热的电动车液压减震装置,包括内套筒和陶瓷筛板,所述内套筒的底端内侧与陶瓷筛板的外侧固定连接,所述陶瓷筛板的底端固定连接有硅胶垫圈,所述内套筒的外侧滑动连接有外套管,所述内套筒顶端和外套管的底端均固定连接有定位块,所述内套筒外端和外套管的外端均固定连接有支撑板,顶侧所述支撑板的底端和底侧所述支撑板的顶端均固定连接有竖直设置的第一弹簧,本实用新型中,通过设置的第二弹簧、密封圈和散热片实现对阻尼油的冷却功能,避免车辆连续经过颠簸的道路造成减震装置过热,防止阻尼油加热后黏度会变稀,保持阻尼力,维持减震效果。

返回首页 | 品牌大全 | 品牌排行 | 品牌问答 | 品牌资讯 | 品牌价值 | 关于我们 | 联系我们 | 免责声明

Copyright 2013-2020 品牌门户,牌子123(www.paizi123.cn) 版权所有 备案号:苏ICP备13009020号-7

网站地图