专利状态
一种食品检测样品预处理用搅拌装置
专利申请进度
申请
2022-03-17
授权
2022-08-05
预估到期
2032-03-17
专利基础信息
申请号 申请日
授权公布号 授权公告日
分类号
分类
申请人名称 江西正味食品有限公司
申请人地址
专利法律状态
  • 2022-08-05
    授权
    状态信息
    授权
摘要
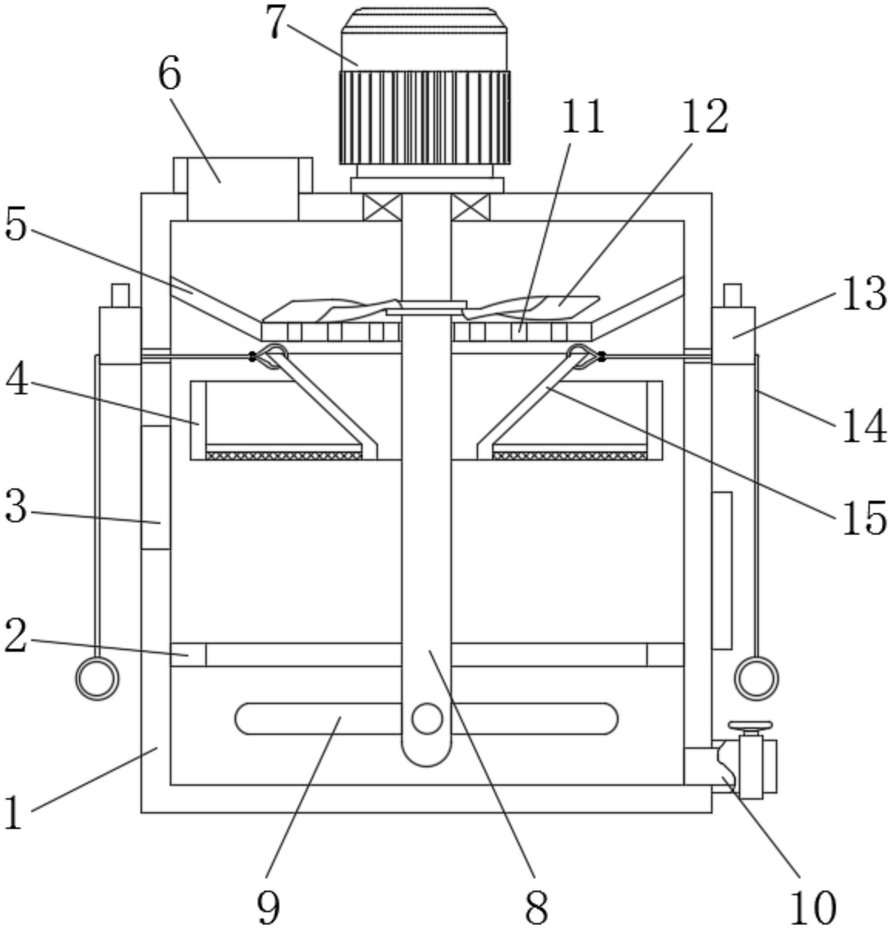
本实用新型公开了一种食品检测样品预处理用搅拌装置,包括预处理箱,所述预处理箱的顶面固定有电机,且电机输出端贯穿预处理箱固定连接有轴杆;本实用新型中,通过开启预处理箱顶面的电机,促使电机输出端带动轴杆传动,进而轴杆带动上部环绕设置的多个破碎刀片转动,以及轴杆下部环绕设置的多个搅拌杆同步转动,由于在预处理箱内部焊接截面为等腰梯形结构的支撑盘,且支撑盘的底面开设有多个下料孔,当电机带动轴杆传动时,落入支撑盘上的食品原材料受到多个破碎刀片的削切后发生破碎,而符合下料孔孔径要求的食品原材料落入预处理箱下部,使得搅拌杆对破碎后的食品和水进行充分搅拌,集破碎和搅拌为一体,从而增加食品检测效率。

返回首页 | 品牌大全 | 品牌排行 | 品牌问答 | 品牌资讯 | 品牌价值 | 关于我们 | 联系我们 | 免责声明

Copyright 2013-2020 品牌门户,牌子123(www.paizi123.cn) 版权所有 备案号:苏ICP备13009020号-7

网站地图