专利状态
一种儿童水杯的吸嘴
专利申请进度
申请
2013-09-18
授权
2014-04-30
预估到期
2023-09-18
专利基础信息
申请号 申请日
授权公布号 授权公告日
分类号
分类
申请人名称 好孩子(中国)商贸有限公司
申请人地址
专利法律状态
  • 2014-04-30
    授权
    状态信息
    授权
摘要
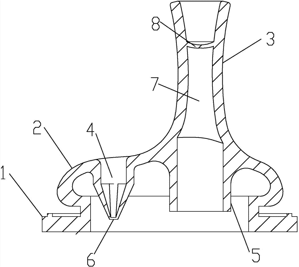
本实用新型涉及一种儿童水杯的吸嘴,包括用于安装在儿童水杯上的环形座、位于环形座上方且与环形座内侧边部相连接的吸嘴本体、由吸嘴本体的部分向上延伸形成的吮吸部,吸嘴还包括由吸嘴本体的表面向下延伸形成的用于保持水杯内外气体流通的通气部,吮吸部的底部向下延伸形成用于安装吸管的安装部,吮吸部位于环形座中心轴线的一侧,通气部位于环形座中心轴线相对的另一侧。本实用新型结构简单,能随时保持水杯内外气压平衡而无需再拧开杯盖,同时在饮用前可将吸管安装在安装部上,使得饮用更加方便。

返回首页 | 品牌大全 | 品牌排行 | 品牌问答 | 品牌资讯 | 品牌价值 | 关于我们 | 联系我们 | 免责声明

Copyright 2013-2020 品牌门户,牌子123(www.paizi123.cn) 版权所有 备案号:苏ICP备13009020号-7

网站地图