专利状态
一种清分模块及其大额存款机
专利申请进度
申请
2021-12-29
授权
2022-09-27
预估到期
2031-12-29
专利基础信息
申请号 申请日
授权公布号 授权公告日
分类号
分类
申请人名称 维融科技股份有限公司
申请人地址
专利法律状态
  • 2022-09-27
    授权
    状态信息
    授权
摘要
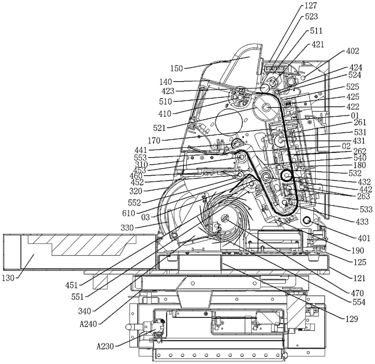
一种清分模块及其大额存款机,其清分模块用于将需要存入的纸币进行清分且分别设置有第一通道、第二通道、第三通道,第一通道通过换向板择一与第二通道、第三通道连通,第二通道与推钞板连通;第三通道与接钞台连通,从而将纸币输入接钞台堆叠;清分模块上安装有清分座,清分座上安装有第一清分侧板、第二清分侧板,第一清分侧板、第二清分侧板之间安装有连接板、进钞台、推钞板,进钞台用于放置待清分的纸币;进钞台底部安装有捻钞轮,捻钞轮套装在捻钞轮轴上,捻钞轮轴的两端分别与第一清分侧板、第二清分侧板可圆周转动装配。本实用新型的清分模块能够对纸币进行识别,最终将查验通过的纸币存入接钞台上暂存,以便于操作者后续确认是否存入。

返回首页 | 品牌大全 | 品牌排行 | 品牌问答 | 品牌资讯 | 品牌价值 | 关于我们 | 联系我们 | 免责声明

Copyright 2013-2020 品牌门户,牌子123(www.paizi123.cn) 版权所有 备案号:苏ICP备13009020号-7

网站地图