专利状态
清扫机器人水槽密封结构
专利申请进度
申请
2023-08-11
授权
2024-03-26
预估到期
2033-08-11
专利基础信息
申请号 申请日
授权公布号 授权公告日
分类号
分类
申请人名称 北京云迹科技股份有限公司
申请人地址
专利法律状态
  • 2024-03-26
    授权
    状态信息
    授权
摘要
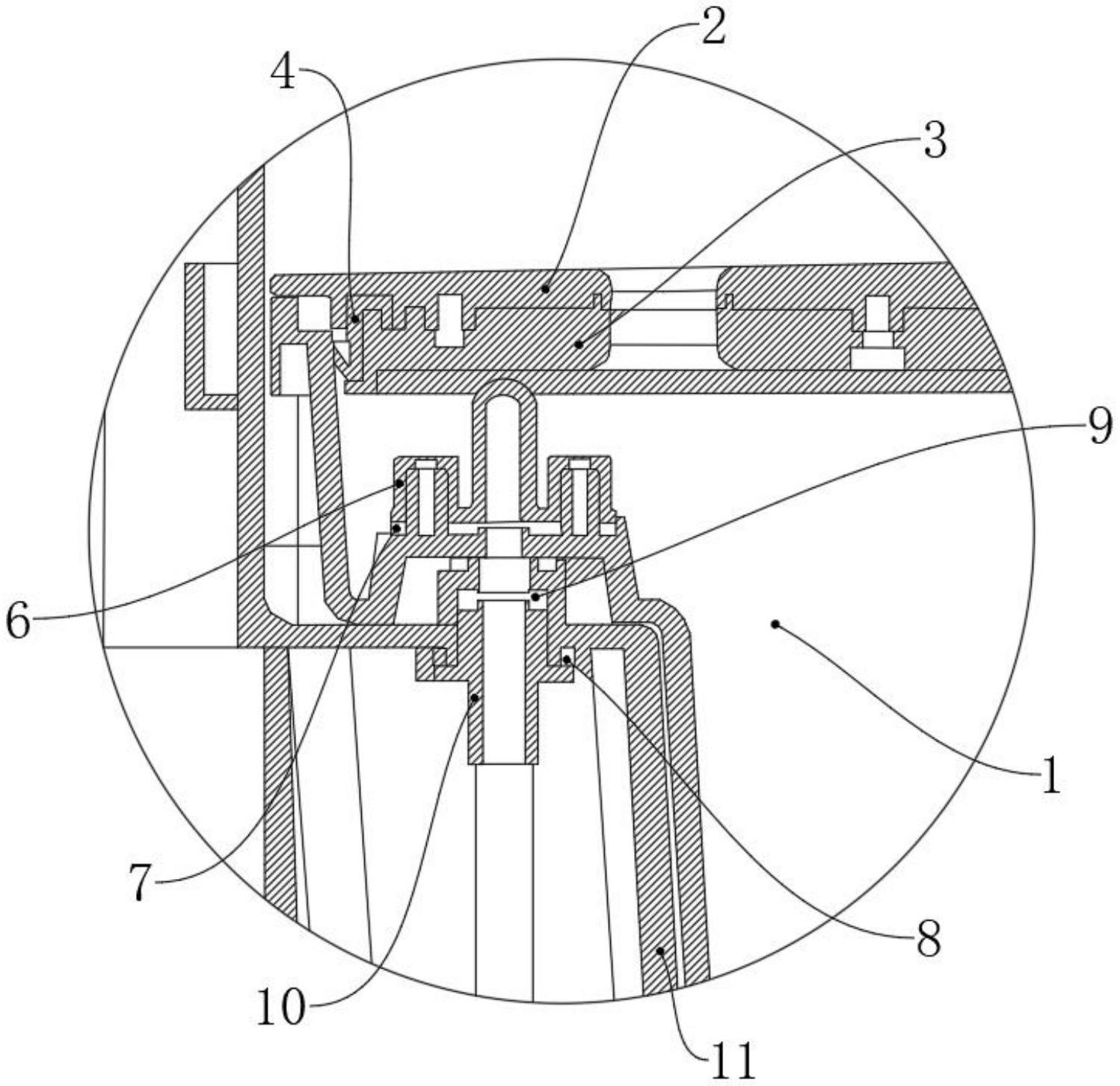
本实用新型的清扫机器人水槽密封结构,涉及清扫机器人技术领域,包括水槽,所述水槽的内部设置水槽密封机构,所述密封机构包括水槽上连接的水槽盖,所述水槽盖上固定连接密封环,所述密封环的形状为弧形碗状结构,所述水槽的内部设置基座,所述基座上固定连接接头。本实用新型当清扫机器人需要使用水槽密封结构时,水槽盖和水槽之间密封增加了一个密封环固定板,之后将密封环固定在其上。然后密封环外缘采用弧形碗状结构,增加弹性和密封能力,利于水槽盖扣合。最后接头直接固定在基座上,中间用密封环密封。基座和水槽出水口衔接部分安装一个密封环,这样水槽和接头直接不直接接触,方便水槽拆装。水槽放入基座即可以靠水槽锁紧机构和自身重力实现密封。

返回首页 | 品牌大全 | 品牌排行 | 品牌问答 | 品牌资讯 | 品牌价值 | 关于我们 | 联系我们 | 免责声明

Copyright 2013-2020 品牌门户,牌子123(www.paizi123.cn) 版权所有 备案号:苏ICP备13009020号-7

网站地图