专利状态
一种现场预制墙板安装结构
专利申请进度
申请
2020-11-04
授权
2021-09-10
预估到期
2030-11-04
专利基础信息
申请号 申请日
授权公布号 授权公告日
分类号
分类
申请人名称 新城控股集团股份有限公司
申请人地址
专利法律状态
  • 2021-09-10
    授权
    状态信息
    授权
摘要
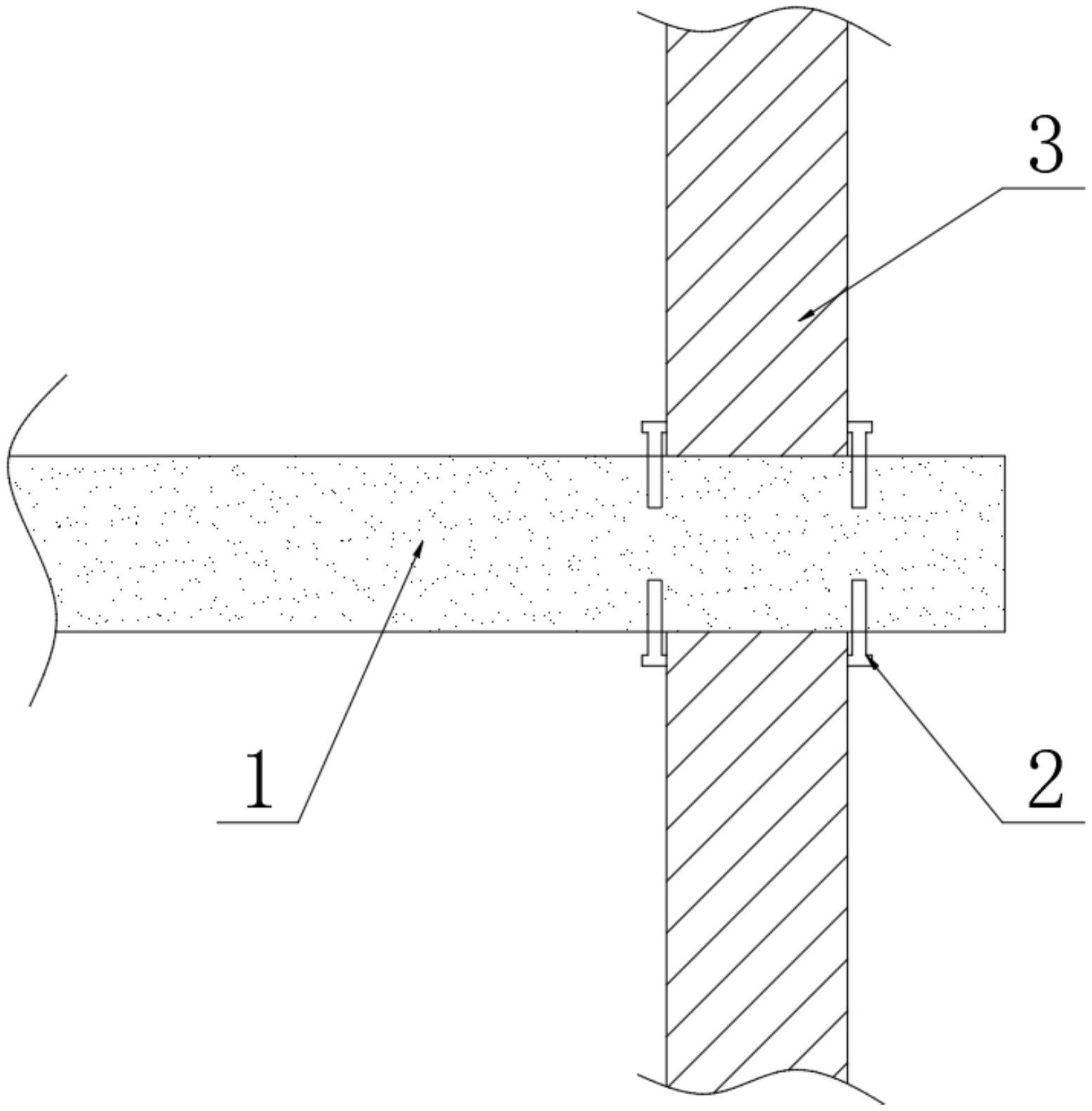
本实用新型涉及一种现场预制墙板安装结构,它包括砼板(1),所述砼板(1)上下两侧均设置有左右两排锚栓(2),左右两排锚栓(2)之间卡置有预制墙板(3),左右两排锚栓(2)外覆盖设置有后浇面层或抹灰层。本实用新型一种现场预制墙板安装结构,其在砼板上设置两排锚栓对预制墙板进行固定,无需预留预埋,省事省工,安装准确,不破坏墙板,结构安全度可靠。

返回首页 | 品牌大全 | 品牌排行 | 品牌问答 | 品牌资讯 | 品牌价值 | 关于我们 | 联系我们 | 免责声明

Copyright 2013-2020 品牌门户,牌子123(www.paizi123.cn) 版权所有 备案号:苏ICP备13009020号-7

网站地图