专利状态
一种预制混凝土外挂墙板的下端连接件
专利申请进度
申请
2021-01-08
授权
2021-12-31
预估到期
2031-01-08
专利基础信息
申请号 申请日
授权公布号 授权公告日
分类号
分类
申请人名称 新城控股集团股份有限公司
申请人地址
专利法律状态
  • 2021-12-31
    授权
    状态信息
    授权
摘要
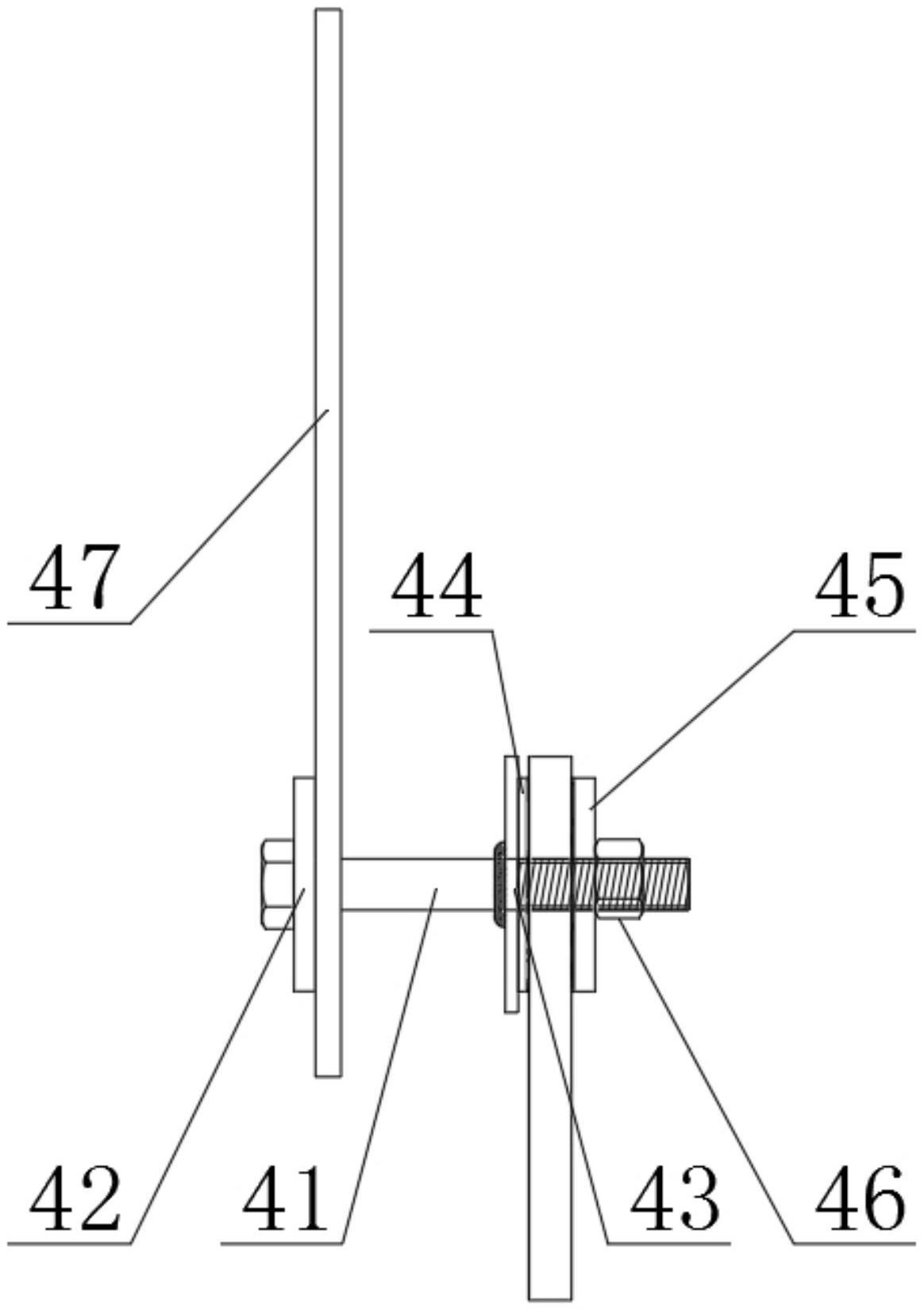
本实用新型涉及一种预制混凝土外挂墙板的下端连接件,它包括包括沿横向布置的螺栓(41),所述螺栓(41)上自左至右依次设置有第一纵板(42)、第二纵板(43)、第三纵板(44)、第四纵板(45)和锁紧螺母(46),所述第一纵板(42)右侧设置有前后两个第一直线钢筋(47)。本实用新型一种预制混凝土外挂墙板的下端连接件,它能够解决现有外挂墙板安装时连接件定位困难、易产生位移、保护层厚度难以控制以及混凝土二次浇筑时保温层易产生浮动等导致的施工不方便,连接不可靠的问题。

返回首页 | 品牌大全 | 品牌排行 | 品牌问答 | 品牌资讯 | 品牌价值 | 关于我们 | 联系我们 | 免责声明

Copyright 2013-2020 品牌门户,牌子123(www.paizi123.cn) 版权所有 备案号:苏ICP备13009020号-7

网站地图