专利状态
一种板材封边机
专利申请进度
申请
2020-10-27
授权
2021-09-10
预估到期
2030-10-27
专利基础信息
申请号 申请日
授权公布号 授权公告日
分类号
分类
申请人名称 厦门市益乐家具有限公司
申请人地址
专利法律状态
  • 2021-09-10
    授权
    状态信息
    授权
摘要
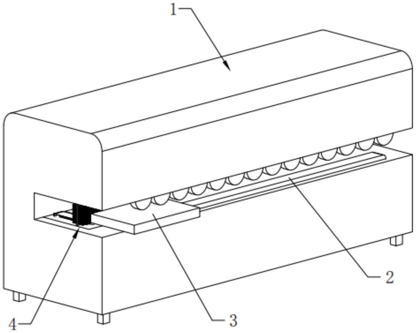
本实用新型公开了一种板材封边机,属于封边机技术领域,包括机架、传动连接于机架上的传送链以及放置于传送链上的板材本体,所述机架于板材本体的入料端设置有清理装置,所述清理装置包括设置于机架上的毛刷板以及可供毛刷进行滑移的滑槽,所述毛刷板的两面均设置有刷毛,所述滑槽于垂直于板材本体的方向上分布,所述机架沿滑槽的方向上设置有防尘装置,所述毛刷板的另一端转动连接有滑移块,所述滑移块由驱动装置驱动其带动毛刷板沿滑槽内进行往复滑移运动以及自身的旋转运动,本实用新型能够在不停止封边机工作的情况下对刷毛进行更换清洁,具有提高工作效率且省时省力的优点。

返回首页 | 品牌大全 | 品牌排行 | 品牌问答 | 品牌资讯 | 品牌价值 | 关于我们 | 联系我们 | 免责声明

Copyright 2013-2020 品牌门户,牌子123(www.paizi123.cn) 版权所有 备案号:苏ICP备13009020号-7

网站地图