专利状态
一种共轴式反向双叶轮传动链结构及风力发电机组
专利申请进度
申请
2023-07-31
授权
2024-03-26
预估到期
2033-07-31
专利基础信息
申请号 申请日
授权公布号 授权公告日
分类号
分类
申请人名称 明阳智慧能源集团股份公司
申请人地址
专利法律状态
  • 2024-03-26
    授权
    状态信息
    授权
摘要
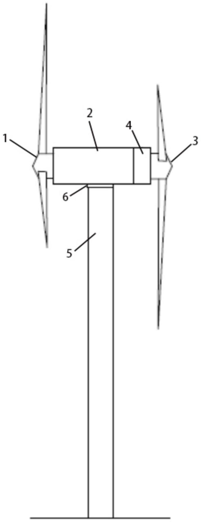
本实用新型公开了一种共轴式反向双叶轮传动链结构及风力发电机组,该传动链结构包括:前叶轮、永磁发电机、后叶轮和换向齿轮箱,其中,所述永磁发电机水平布置,所述前叶轮与永磁发电机的转子旋转轴的一端直接耦合,所述后叶轮通过换向齿轮箱与永磁发电机的转子旋转轴的另一端连接,前、后叶轮反向转动并同时驱动永磁发电机的转子。本实用新型在不增加叶片长度的情况下,增加叶轮输出功率,以达到增加风力发电机组容量的目的,优化整机载荷,降低轮毂中心高度,便于机组吊装。

返回首页 | 品牌大全 | 品牌排行 | 品牌问答 | 品牌资讯 | 品牌价值 | 关于我们 | 联系我们 | 免责声明

Copyright 2013-2020 品牌门户,牌子123(www.paizi123.cn) 版权所有 备案号:苏ICP备13009020号-7

网站地图