专利状态
一种户外防渗配电柜
专利申请进度
申请
2022-11-28
授权
2023-05-30
预估到期
2032-11-28
专利基础信息
申请号 申请日
授权公布号 授权公告日
分类号
分类
申请人名称 浙江湘湖电器设备制造有限公司
申请人地址
专利法律状态
  • 2023-05-30
    授权
    状态信息
    授权
摘要
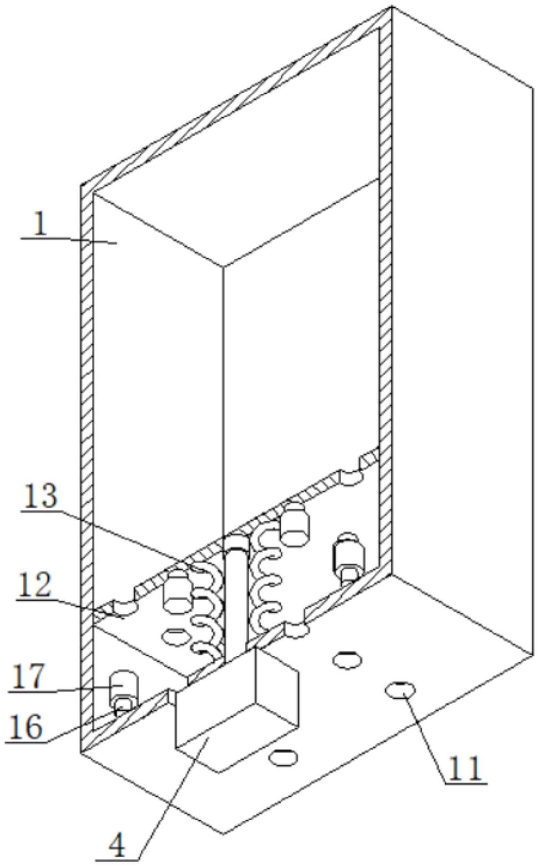
本实用新型涉及一种户外防渗配电柜,包括柜体,所述柜体底部靠近左右两侧处均固定连接有底座,且所述柜体前侧安装有两个柜门,所述柜体顶部设有防水顶盖,所述防水顶盖内壁底部固定连接有两个支撑块,通过设置有防水顶盖、吸水垫、吸铁石、通风孔、密封块和密封垫,在外界为雨水天气,且存在积水时,通过防水顶盖的设置能够有效避免雨水顺着顶部的通风槽和通风网进入柜体内部,通过体内壁底部的密封块和外侧的密封垫对密封板上的通风孔进行密封,同时密封板上的密封垫和密封块对柜体底部的通风孔进行密封,此时柜体底部为密封状态,能够有效避免雨水渗透入内部,造成内部电器元件及电路的损坏。

返回首页 | 品牌大全 | 品牌排行 | 品牌问答 | 品牌资讯 | 品牌价值 | 关于我们 | 联系我们 | 免责声明

Copyright 2013-2020 品牌门户,牌子123(www.paizi123.cn) 版权所有 备案号:苏ICP备13009020号-7

网站地图