专利状态
一种低压抽出式配电开关柜
专利申请进度
申请
2022-07-28
授权
2023-01-17
预估到期
2032-07-28
专利基础信息
申请号 申请日
授权公布号 授权公告日
分类号
分类
申请人名称 浙江湘湖电器设备制造有限公司
申请人地址
专利法律状态
  • 2023-01-17
    授权
    状态信息
    授权
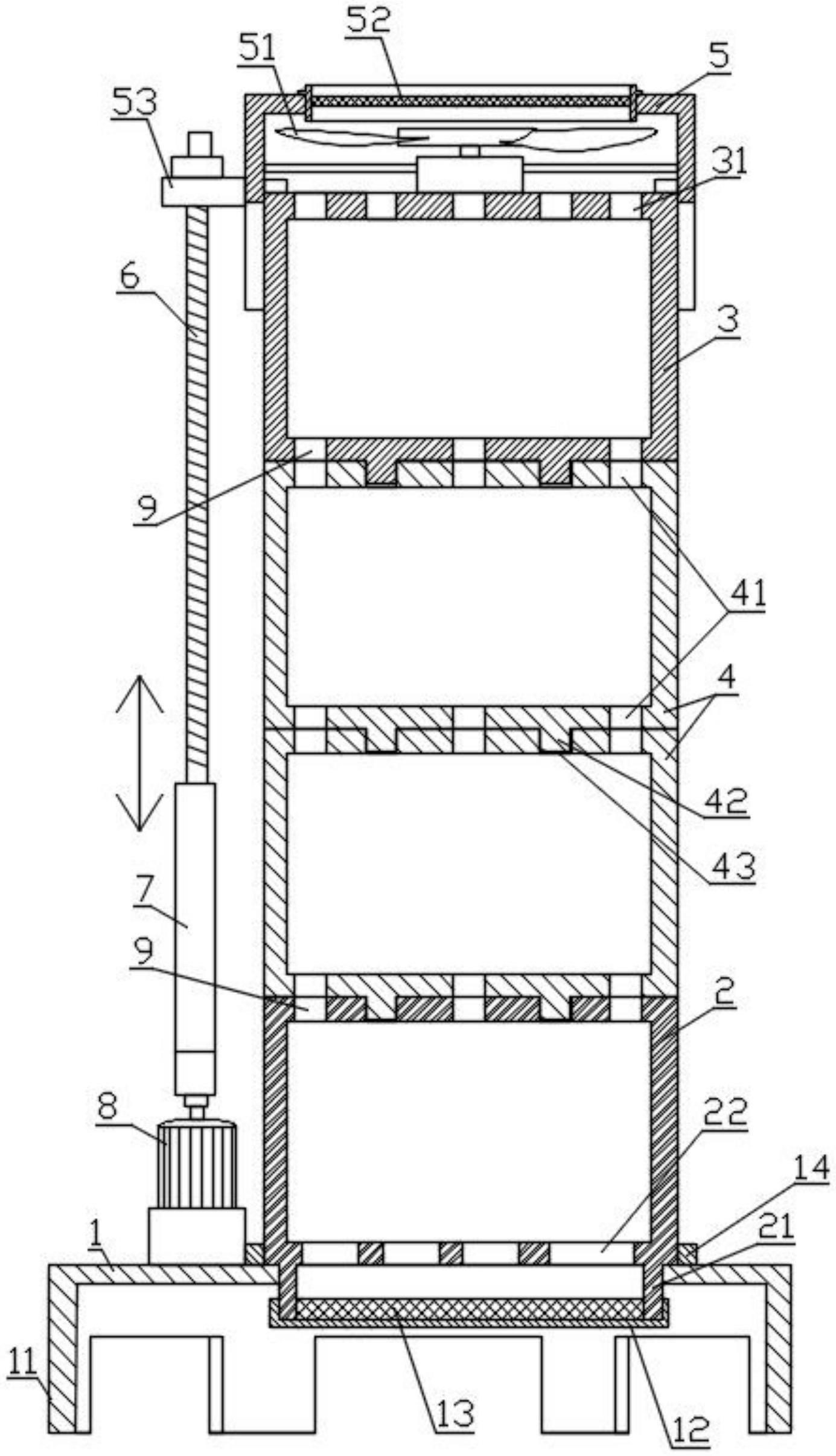
摘要
本实用新型涉及开关柜领域,具体公开了一种低压抽出式配电开关柜,开关柜本体包括底部柜体、顶部柜体以及若干沿着竖直方向首尾插接的中间柜体,相邻中间柜体互相连通,中间柜体连通底部柜体和顶部柜体;顶部柜体的顶部压紧连接一上压套,上压套内设有风扇,顶部柜体位于上压套内设有第一通孔,上压套的外侧面设有加长边,加长边螺纹连接螺杆顶端,螺杆的底端连接气缸顶端,气缸底端连接一电机,电机固定于底座上;底部柜体底面设有穿出底座的第一凸环,该底部柜体位于第一凸环内设有第二通孔。能根据需要改变中间柜体的数量,气缸螺杆能使用开关柜体的高度变化,而且能够始终压紧顶部柜体、中间柜体及底部柜体于底座上,保证结构牢固性。

返回首页 | 品牌大全 | 品牌排行 | 品牌问答 | 品牌资讯 | 品牌价值 | 关于我们 | 联系我们 | 免责声明

Copyright 2013-2020 品牌门户,牌子123(www.paizi123.cn) 版权所有 备案号:苏ICP备13009020号-7

网站地图