专利状态
一种专用于配电柜的散热器
专利申请进度
申请
2022-09-30
授权
2023-05-02
预估到期
2032-09-30
专利基础信息
申请号 申请日
授权公布号 授权公告日
分类号
分类
申请人名称 浙江湘湖电器设备制造有限公司
申请人地址
专利法律状态
  • 2023-05-02
    授权
    状态信息
    授权
摘要
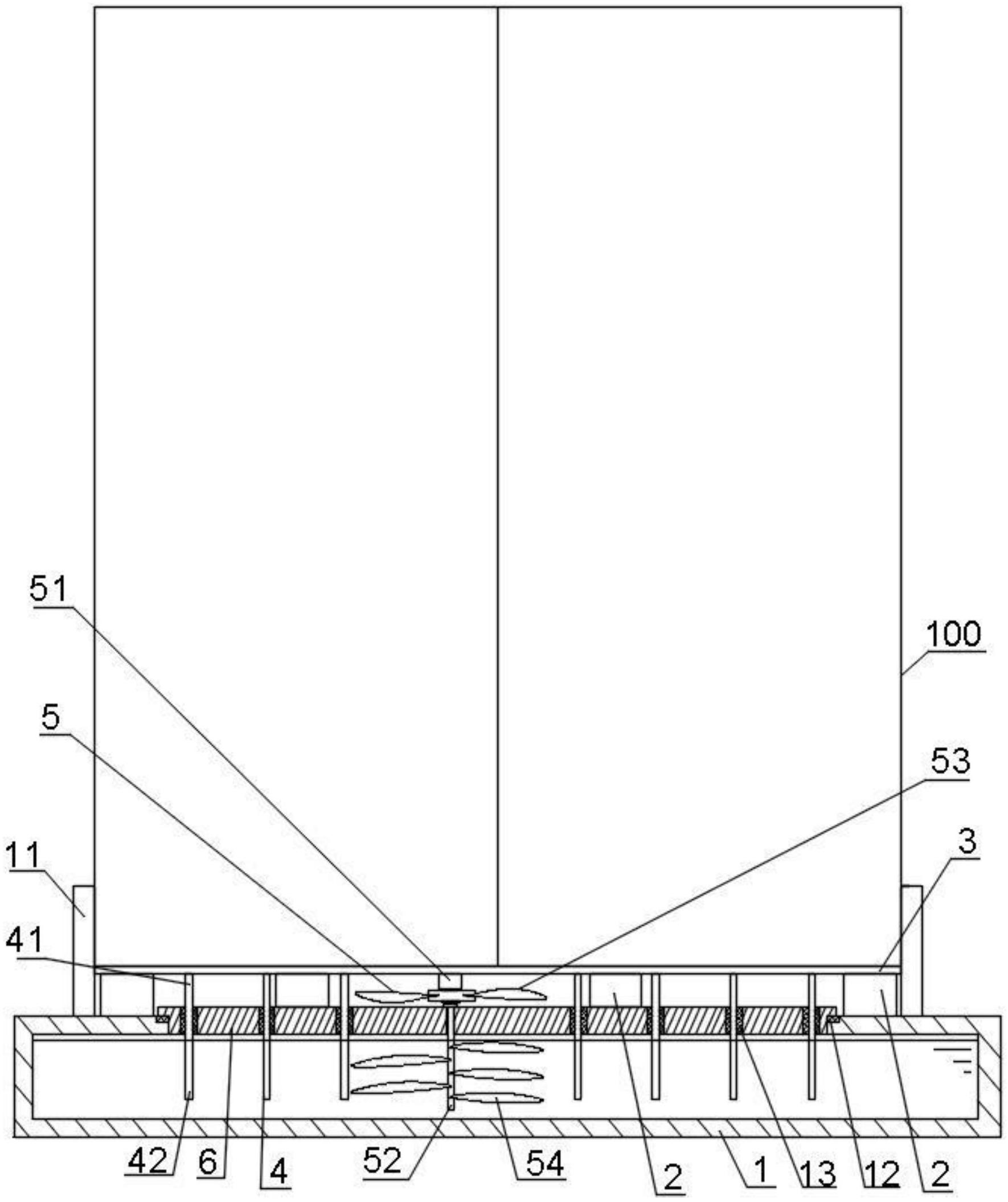
本实用新型涉及开关柜领域,具体公开了一种专用于配电柜的散热器,包括位于配电柜底部的水箱,还包括位于水箱上方的若干的支撑柱,支撑柱的顶部设有吸热片下表面,配电柜安置于吸热片的上表面;吸热片的底端连接超导热柱,超导热柱具有连接吸热片下表面的吸热端和插入水箱内的散热端;吸热片的底面与水箱之间设有风扇;水箱位于配电柜外围设有挡板;风扇包括安装于吸热片底面的电机本体、顶端连接电机本体的转轴、安装于转轴上部的风扇体,转轴的下部插入水箱内连接搅拌叶片。吸热片和超导热柱导热性能好,有效将配电柜底面的热量传输到水箱内进行散热,风扇不仅能对吸热片和超导热柱进行散热,还能够搅拌水箱内的水,保证水对超导热柱散热均匀。

返回首页 | 品牌大全 | 品牌排行 | 品牌问答 | 品牌资讯 | 品牌价值 | 关于我们 | 联系我们 | 免责声明

Copyright 2013-2020 品牌门户,牌子123(www.paizi123.cn) 版权所有 备案号:苏ICP备13009020号-7

网站地图