专利状态
一种折叠壁椅
专利申请进度
申请
2020-12-17
授权
2021-07-30
预估到期
2030-12-17
专利基础信息
申请号 申请日
授权公布号 授权公告日
分类号
分类
申请人名称 北京市丽日办公用品有限责任公司
申请人地址
专利法律状态
  • 2021-07-30
    授权
    状态信息
    授权
摘要
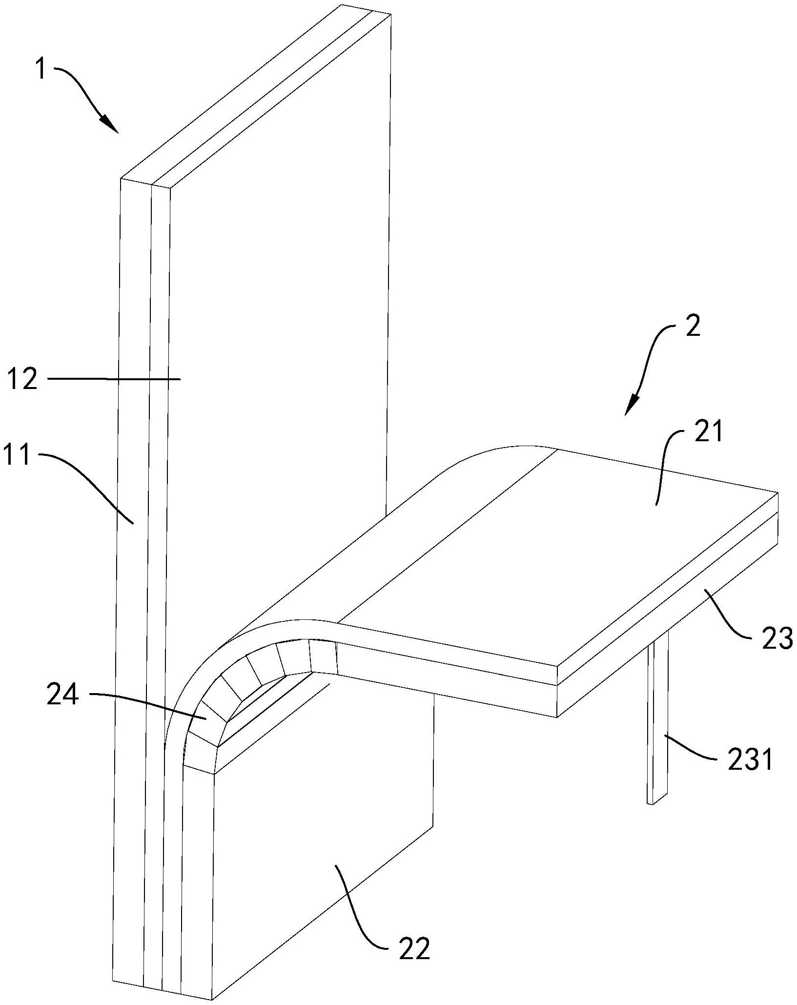
本申请涉及一种折叠壁椅,属于家具领域,包括靠背和椅座,所述椅座包括软质的椅垫,所述椅垫远离靠背的一侧底部设置有固定板,所述固定板与所述靠背之间固定相连并且所述椅垫的底部夹紧固定在固定板和靠背之间,所述椅垫远离靠背的一侧顶部固设有坐垫板,所述坐垫板与所述固定板之间设置有多根自固定板向坐垫板方向排列设置的格条,所述格条与固定板之间间隔设置,所述格条与坐垫板之间间隔设置,相邻的格条之间间隔设置,所述格条均与椅垫固定相连,所述椅垫向背离靠背的一侧方向翻转至水平状态时,格条与所述固定板之间、格条与所述坐垫板之间以及相邻的格条之间相抵接从而对所述椅垫进行支撑。本申请具有有效的节省室内空间的效果。

返回首页 | 品牌大全 | 品牌排行 | 品牌问答 | 品牌资讯 | 品牌价值 | 关于我们 | 联系我们 | 免责声明

Copyright 2013-2020 品牌门户,牌子123(www.paizi123.cn) 版权所有 备案号:苏ICP备13009020号-7

网站地图