专利状态
一种防火型危化品柜
专利申请进度
申请
2021-06-23
授权
2021-11-23
预估到期
2031-06-23
专利基础信息
申请号 申请日
授权公布号 授权公告日
分类号
分类
申请人名称 北京市丽日办公用品有限责任公司
申请人地址
专利法律状态
  • 2021-11-23
    授权
    状态信息
    授权
摘要
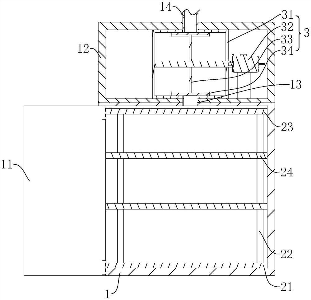
本申请公开了一种防火型危化品柜,涉及危化品储存设备的技术领域。包括柜体,柜体上连通有输气管;柜体上固定连接有鼓风机,鼓风机输入端连接有第一排气管;输气管与第一排气管中间设置有防火隔断机构,防火隔断机构包括驱动电机、转动杆和两个阻隔板;驱动电机输出端与转动杆固定连接,两个阻隔板分别固定于转动杆的两端;驱动电机带动转动杆转动至,转动杆的轴线与输气管朝向第一排气管的开口端的轴线重合时,两个阻隔板分别将输气管和第一排气管堵塞封闭。本申请当外部环境发生火灾时,防火隔断机构将将柜体内腔与外部环境隔断,避免火势沿管道进入柜体内,有效提高了危化品柜的防火性能。

返回首页 | 品牌大全 | 品牌排行 | 品牌问答 | 品牌资讯 | 品牌价值 | 关于我们 | 联系我们 | 免责声明

Copyright 2013-2020 品牌门户,牌子123(www.paizi123.cn) 版权所有 备案号:苏ICP备13009020号-7

网站地图