专利状态
一种桌椅用高度调节组件
专利申请进度
申请
2020-12-16
授权
2021-09-21
预估到期
2030-12-16
专利基础信息
申请号 申请日
授权公布号 授权公告日
分类号
分类
申请人名称 北京市丽日办公用品有限责任公司
申请人地址
专利法律状态
  • 2021-09-21
    授权
    状态信息
    授权
摘要
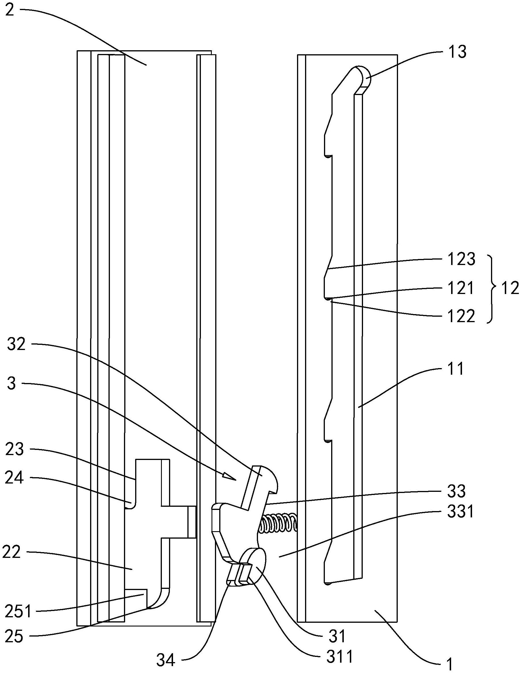
本申请涉及一种桌椅用高度调节组件,包括竖向设置的移动片和固定片,所述移动片滑动连接在所述固定片上,所述固定片上开设有竖向设置的连通槽,所述移动片的底部朝向固定片的一侧开设有容纳槽,所述容纳槽内设置有卡块,所述卡块自由放置在所述容纳槽中,所述卡块上设置有伸入到连通槽中并与连通槽滑动相连的卡固部,所述连通槽的一侧设置有多个沿着连通槽的长度方向间隔设置的卡固槽,所述卡块背向卡固槽的一侧设置有弹性件,所述弹性件位于容纳槽中,所述固定片与移动片相对滑动时,当卡固部与卡固槽相对时,所述卡固部在弹簧的作用下能够卡入到所对的卡槽中。本申请具有便于桌椅的高度调节的效果。

返回首页 | 品牌大全 | 品牌排行 | 品牌问答 | 品牌资讯 | 品牌价值 | 关于我们 | 联系我们 | 免责声明

Copyright 2013-2020 品牌门户,牌子123(www.paizi123.cn) 版权所有 备案号:苏ICP备13009020号-7

网站地图