专利状态
一种适用于建筑涂料调配的混合装置
专利申请进度
申请
2021-10-28
授权
2022-03-22
预估到期
2031-10-28
专利基础信息
申请号 申请日
授权公布号 授权公告日
分类号
分类
申请人名称 贵州中亚高科涂料有限公司
申请人地址
专利法律状态
  • 2022-03-22
    授权
    状态信息
    授权
摘要
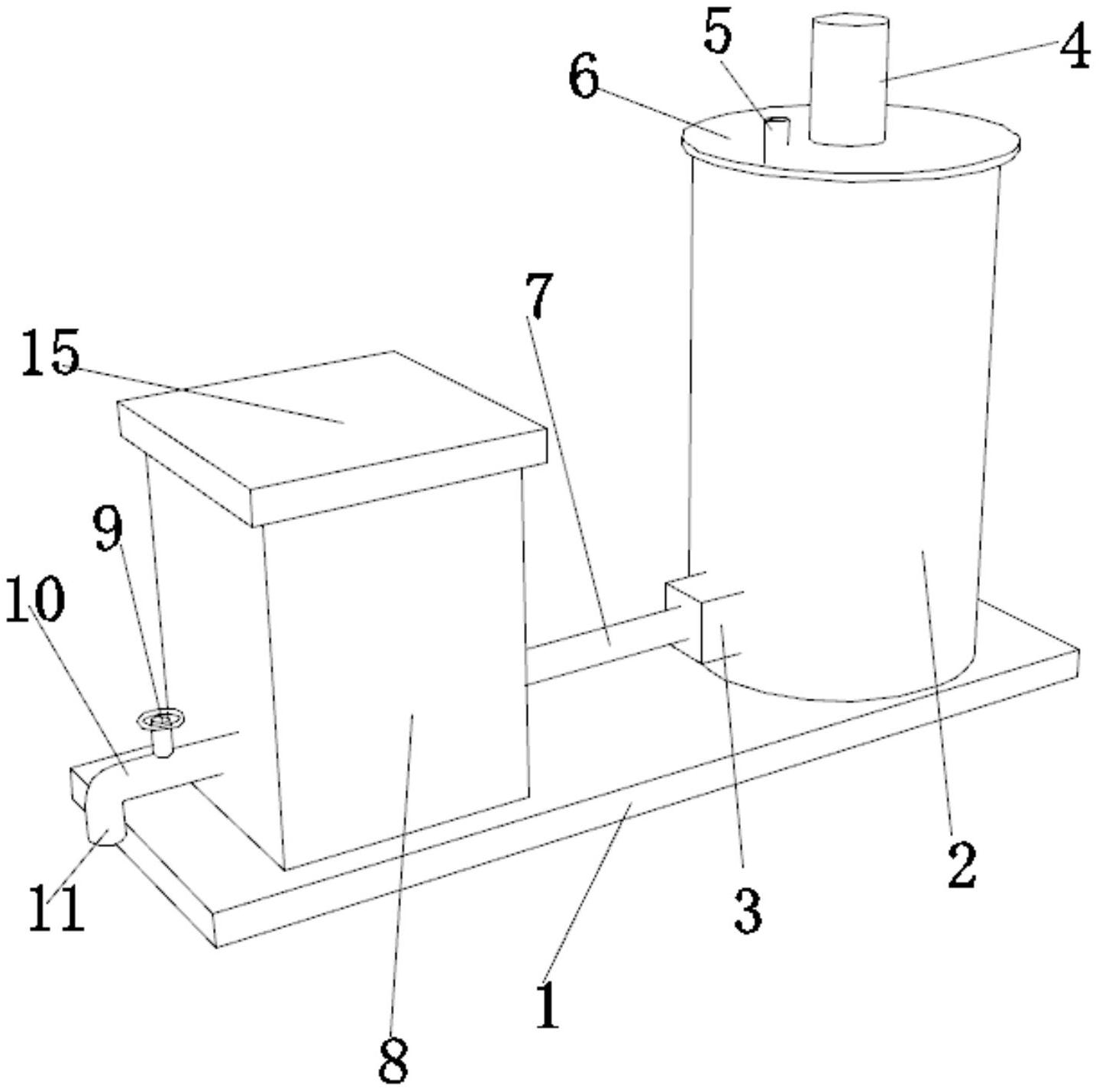
本实用新型公开了一种适用于建筑涂料调配的混合装置,包括底座,所述调配罐内部设置有过滤网,所述底座顶部左侧位置固定连接有储料箱,所述第一分流管一端与储料箱左侧底部位置贯穿并固定连接,所述储料箱左侧底部位置贯穿并固定连接有第二分流管。本实用新型中,电机带动转动杆与外径的搅拌轴高速旋转,持续进行搅拌,将调配罐内部的涂料均匀的分散,过滤网会对调配罐内部涂料进行过滤,杂质会留在过滤网内部,调配完成的涂料更为干净,泵体将过滤完成的涂料经过第一分流管抽入到储料箱内部,进行储存,分流管均采用PPR纳米材质的管材,这种材质抑菌抗菌,防止管道发霉效果比较好,该设备操作简单,使用广泛,值得大力推广。

返回首页 | 品牌大全 | 品牌排行 | 品牌问答 | 品牌资讯 | 品牌价值 | 关于我们 | 联系我们 | 免责声明

Copyright 2013-2020 品牌门户,牌子123(www.paizi123.cn) 版权所有 备案号:苏ICP备13009020号-7

网站地图