专利状态
一种箱变用高压干式套管
专利申请进度
申请
2020-05-27
授权
2020-12-22
预估到期
2030-05-27
专利基础信息
申请号 申请日
授权公布号 授权公告日
分类号
分类
申请人名称 河南安达高压电气有限公司
申请人地址
专利法律状态
  • 2023-09-15
    专利权质押合同登记的生效、变更及注销
    状态信息
    专利权质押合同登记的生效;IPC(主分类):H01B 17/58;专利号:ZL2020209216341;登记号:Y2023980053740;登记生效日:20230828;出质人:河南安达高压电气有限公司;质权人:中国银行股份有限公司新乡分行;实用新型名称:一种箱变用高压干式套管;申请日:20200527;授权公告日:20201222
  • 2023-09-08
    专利权质押合同登记的生效、变更及注销
    状态信息
    专利权质押合同登记的注销;IPC(主分类):H01B17/58;授权公告日:20201222;申请日:20200527;登记号:Y2021980007588;出质人:河南安达高压电气有限公司;质权人:中国银行股份有限公司新乡分行;解除日:20230823
  • 2021-08-31
    专利权质押合同登记的生效、变更及注销
    状态信息
    专利权质押合同登记的生效;IPC(主分类):H01B17/58;登记号:Y2021980007588;登记生效日:20210812;出质人:河南安达高压电气有限公司;质权人:中国银行股份有限公司新乡分行;实用新型名称:一种箱变用高压干式套管;申请日:20200527;授权公告日:20201222
  • 2020-12-22
    授权
    状态信息
    授权
摘要
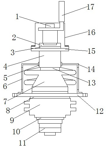
本实用新型公开了一种箱变用高压干式套管,包括导电杆、上瓷套和下瓷套;所述导电杆的上端设有外接线头,外接线头的下端设有圆形螺母,圆形螺母的下方设有瓷盖,所述瓷盖与圆形螺母之间设有圆衬垫,所述上瓷套位于瓷盖的下方,瓷盖与上瓷套之间设有封环,所述下瓷套位于上瓷套的下方,上瓷套与下瓷套之间设有压盘,压盘与下瓷套之间设有密封垫圈,所述下瓷套下方设有末端防松螺帽,末端防松螺帽与下瓷套之间设有垫片,所述瓷盖的上端与圆形螺母的下端之间设有固定圆板,固定圆板上连接有顶端保护罩,本实用新型结构设计合理,能够对高压套管的顶端进行防护,对瓷套进行保护,防止在运输的过程中发生碰撞,安装方便。

返回首页 | 品牌大全 | 品牌排行 | 品牌问答 | 品牌资讯 | 品牌价值 | 关于我们 | 联系我们 | 免责声明

Copyright 2013-2020 品牌门户,牌子123(www.paizi123.cn) 版权所有 备案号:苏ICP备13009020号-7

网站地图