专利状态
一种可控比例的砂浆原料出料机
专利申请进度
申请
2019-10-17
授权
2020-07-21
预估到期
2029-10-17
专利基础信息
申请号 申请日
授权公布号 授权公告日
分类号
分类
申请人名称 温州创新新材料股份有限公司
申请人地址
专利法律状态
  • 2022-01-07
    专利权质押合同登记的生效、变更及注销
    状态信息
    专利权质押合同登记的生效;IPC(主分类):B28C7/04;登记号:Y2021110000096;登记生效日:20211221;出质人:温州创新新材料股份有限公司;质权人:温州市融资担保有限公司;实用新型名称:一种可控比例的砂浆原料出料机;申请日:20191017;授权公告日:20200721
  • 2020-07-21
    授权
    状态信息
    授权
摘要
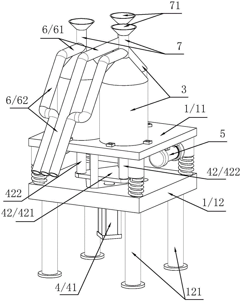
本实用新型涉及一种可控比例的砂浆原料出料机,包括机架,机架上设置有若干的原料桶及驱动装置,各原料桶的轴向为竖直方向,各原料桶的顶部朝上开设有出料口、底部朝下开设有推料进口,驱动装置包括驱动气缸、连接件及推动平板,推动平板的数量与原料桶的数量对应设置,且各推动平板沿竖向滑移沿设置于对应的原料桶内,所述驱动气缸设置于各原料桶下方,且驱动气缸的输出轴沿竖直方向朝上设置,连接件设置于驱动气缸及各推动平板之间,且连接件上端与各推动平板固定连接,下端与驱动气缸的输出轴固定连接。采用上述方案,提供一种设置不同尺寸的原料桶并通过驱动装置推送推动平板来挤出比例可控的各项原材料的一种可控比例的砂浆原料出料机。  

返回首页 | 品牌大全 | 品牌排行 | 品牌问答 | 品牌资讯 | 品牌价值 | 关于我们 | 联系我们 | 免责声明

Copyright 2013-2020 品牌门户,牌子123(www.paizi123.cn) 版权所有 备案号:苏ICP备13009020号-7

网站地图