专利状态
一种水泥搅拌装置
专利申请进度
申请
2021-08-06
授权
2022-01-25
预估到期
2031-08-06
专利基础信息
申请号 申请日
授权公布号 授权公告日
分类号
分类
申请人名称 温州创新新材料股份有限公司
申请人地址
专利法律状态
  • 2023-08-11
    专利权的终止
    状态信息
    未缴年费专利权终止;IPC(主分类):B28C5/16;申请日:20210806;授权公告日:20220125
  • 2022-01-25
    授权
    状态信息
    授权
摘要
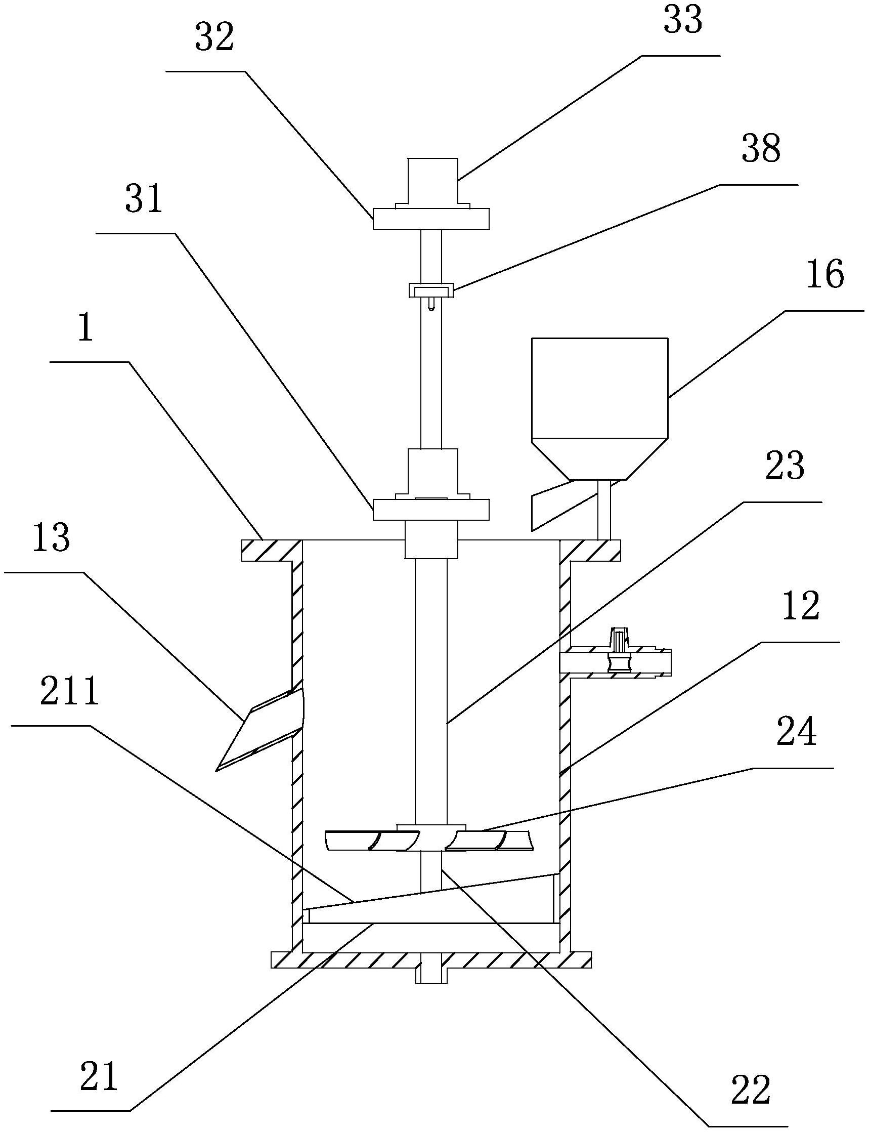
本实用新型涉及一种水泥搅拌装置,包括搅拌箱、搅拌机构和升降机构,所述搅拌箱内部设有反应腔,反应腔的侧面上方设有出料口,所述搅拌箱通过升降机构与搅拌机构连接,搅拌机构通过升降机构的传动可以在搅拌箱内上下移动,所述搅拌机构的底部设有与反应腔相匹配的升降底板,所述升降底板侧面与反应腔的内表面相贴合。本实用新型的目的在于通过设计一种水泥搅拌装置,当水泥搅拌成型后,升降机构控制移动板上移,通过升降底板使得水泥液面上升至出料口处,成型水泥从出料口中流出,从而实现无需倾倒搅拌箱也能排出水泥的效果,避免水泥泄漏堆积影响设备工作。

返回首页 | 品牌大全 | 品牌排行 | 品牌问答 | 品牌资讯 | 品牌价值 | 关于我们 | 联系我们 | 免责声明

Copyright 2013-2020 品牌门户,牌子123(www.paizi123.cn) 版权所有 备案号:苏ICP备13009020号-7

网站地图