专利状态
一种泥沙过滤装置
专利申请进度
申请
2020-10-29
授权
2021-07-13
预估到期
2030-10-29
专利基础信息
申请号 申请日
授权公布号 授权公告日
分类号
分类
申请人名称 温州创新新材料股份有限公司
申请人地址
专利法律状态
  • 2021-07-13
    授权
    状态信息
    授权
摘要
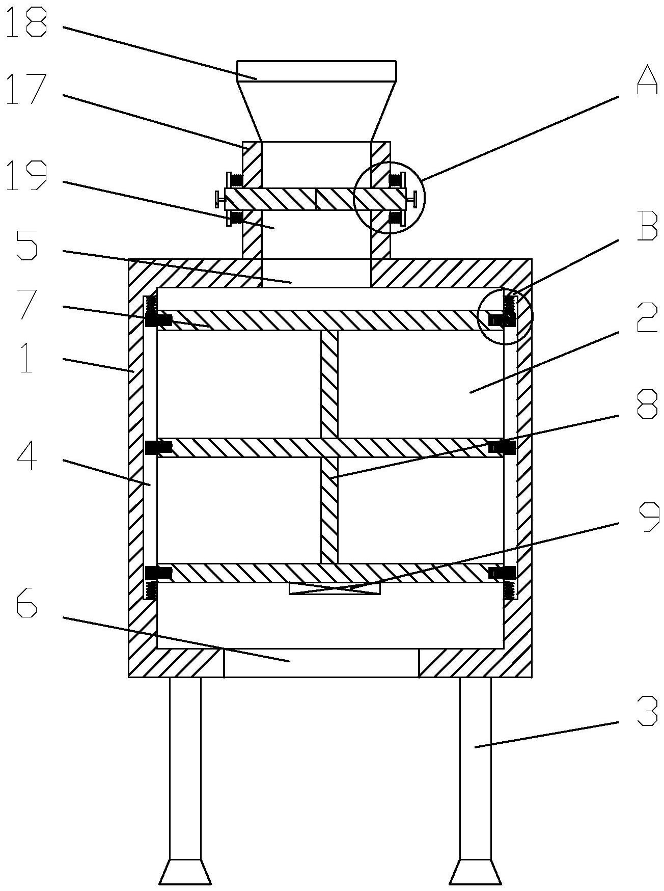
本实用新型涉及一种泥沙过滤装置,包括过滤筒、筛网机构和弹性连接机构,筛网机构包括至少两层过滤板、用于串联过滤板的连杆以及设置在下层过滤板上的震动装置,过滤板包括外圈的定位环和固定在定位环内的滤网,定位环外周等间距的设有“凹”形连接孔;弹性连接机构,弹性连接机构包括连接杆、左弹簧和右弹簧,连接杆的“T”形连接段连接在“凹”形连接孔内,左弹簧一端与“凹”形连接孔底壁固连。本实用新型使用的时候,通过入料口将沙子进行入料,利用震动装置震动筛网机构,使沙子经过过滤板对沙子进行过滤,过滤后的沙子从出料口进行出料,不仅过滤效果好,而且大大提高了过滤效率,省时省力,降低人工成本。

返回首页 | 品牌大全 | 品牌排行 | 品牌问答 | 品牌资讯 | 品牌价值 | 关于我们 | 联系我们 | 免责声明

Copyright 2013-2020 品牌门户,牌子123(www.paizi123.cn) 版权所有 备案号:苏ICP备13009020号-7

网站地图