专利状态
一种自清洁混凝土搅拌装置
专利申请进度
申请
2020-10-29
授权
2021-07-30
预估到期
2030-10-29
专利基础信息
申请号 申请日
授权公布号 授权公告日
分类号
分类
申请人名称 温州创新新材料股份有限公司
申请人地址
专利法律状态
  • 2021-07-30
    授权
    状态信息
    授权
摘要
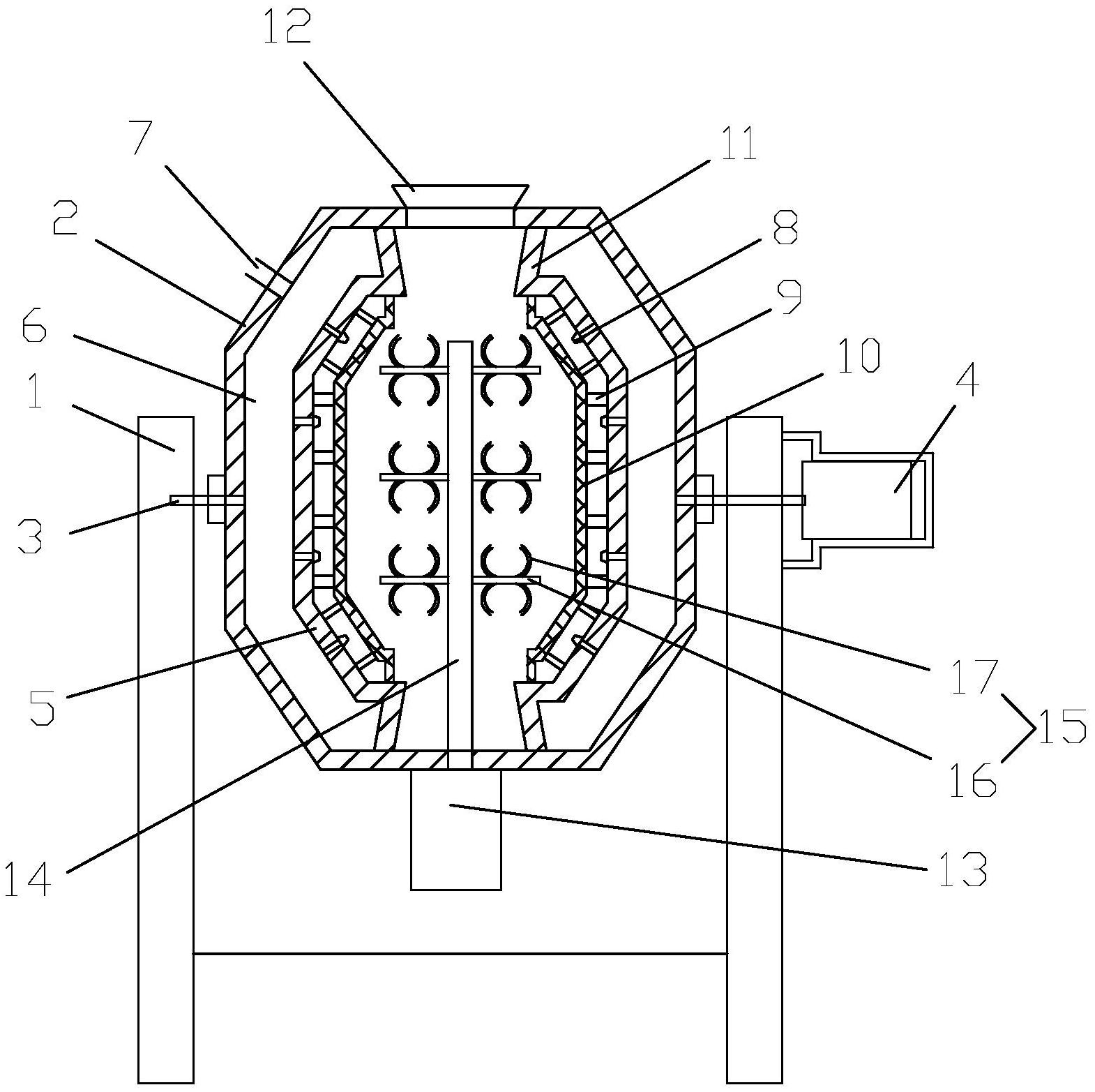
本实用新型涉及一种自清洁混凝土搅拌装置,包括机架、搅拌桶以及搅拌组件,机架转动连接有转动轴,所述搅拌桶通过转动轴设置在机架上,所述机架上设有用于驱动转动轴旋转的转动电机,所述搅拌桶的搅拌腔两侧设有隔板,所述隔板与搅拌桶内壁之间形成储水腔,所述搅拌桶的外壁上设有与储水腔连通的进水口,所述隔板上等间距设有喷水嘴,所述隔板上通过连杆连接有钢丝网。本实用新型通过在搅拌桶内壁设置喷嘴,可以对搅拌桶内壁进行冲刷清理,另外,还设置钢丝网,用于保护喷嘴避免被飞溅泥料堵住或损坏喷嘴,提高使用寿命。

返回首页 | 品牌大全 | 品牌排行 | 品牌问答 | 品牌资讯 | 品牌价值 | 关于我们 | 联系我们 | 免责声明

Copyright 2013-2020 品牌门户,牌子123(www.paizi123.cn) 版权所有 备案号:苏ICP备13009020号-7

网站地图