专利状态
一种基于编码器的管道测量装置
专利申请进度
申请
2022-12-01
授权
2023-03-07
预估到期
2032-12-01
专利基础信息
申请号 申请日
授权公布号 授权公告日
分类号
分类
申请人名称 天津市通洁高压泵制造有限公司
申请人地址
专利法律状态
  • 2023-03-07
    授权
    状态信息
    授权
摘要
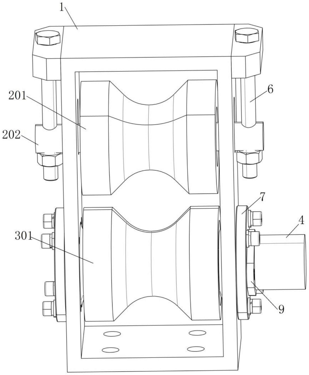
本实用新型公开了一种基于编码器的管道测量装置,属于管路测量技术领域,包括固定支架、第一转动组件、第二转动组件和编码器本体,固定支架设于管道卷筒的前端,固定支架的前后两端敞口,固定支架内转动设有第一转动组件和第二转动组件,第一转动组件位于第二转动组件的上方,管道由第一转动组件和第二转动组件的间隙内伸出,固定支架的外侧壁上固定设有编码器本体,且编码器本体的输入轴套设于第二转动组件内。编码器本体通过测量第二转动组件的转动周期得出过水胶管伸出的长度,从而得到清洗管道的长度,方便掌握清洗的进度。

返回首页 | 品牌大全 | 品牌排行 | 品牌问答 | 品牌资讯 | 品牌价值 | 关于我们 | 联系我们 | 免责声明

Copyright 2013-2020 品牌门户,牌子123(www.paizi123.cn) 版权所有 备案号:苏ICP备13009020号-7

网站地图