专利状态
一种移动电源充电模组及租借设备
专利申请进度
申请
2019-09-02
授权
2021-02-26
预估到期
2029-09-02
专利基础信息
申请号 申请日
授权公布号 授权公告日
分类号
分类
申请人名称 深圳来电科技有限公司
申请人地址
专利法律状态
  • 2021-10-29
    专利权的保全及其解除
    状态信息
    专利权保全的解除;IPC(主分类):H02J7/00;申请日:20190902;授权公告日:20210226;解除日:20210918
  • 2021-05-11
    专利权的保全及其解除
    状态信息
    专利权的保全;IPC(主分类):H02J7/00;申请日:20190902;授权公告日:20210226;登记生效日:20210413
  • 2021-02-26
    授权
    状态信息
    授权
摘要
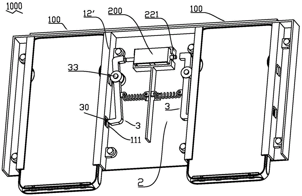
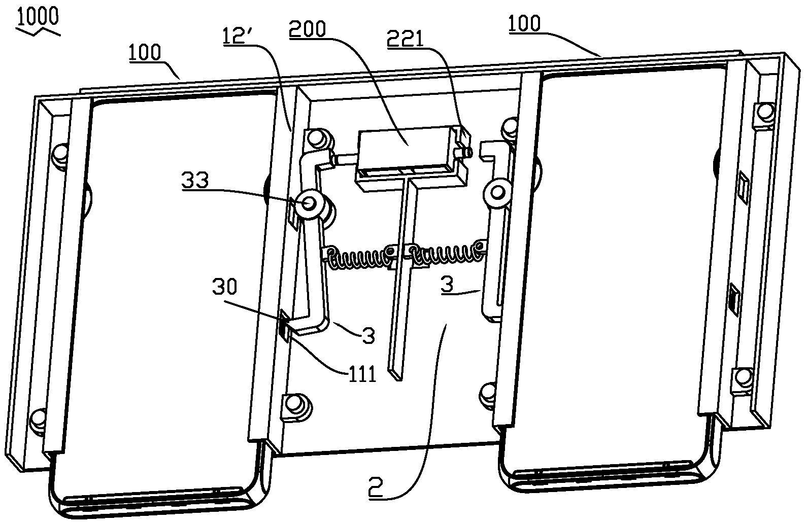
本实用新型涉及一种移动电源充电模组及租借设备。充电模组通过所述非接触式通信装置与插入仓道内的移动电源上设置的非接触式通信装置之间连接形成非接触式传输数据模式,从而实现充电模组与模组仓道内的移动电源之间传输数据。充电模组包括动力部件和锁定移动电源的夹紧臂,动力部件带动夹紧臂活动从而解锁充电模组内的移动电源。

返回首页 | 品牌大全 | 品牌排行 | 品牌问答 | 品牌资讯 | 品牌价值 | 关于我们 | 联系我们 | 免责声明

Copyright 2013-2020 品牌门户,牌子123(www.paizi123.cn) 版权所有 备案号:苏ICP备13009020号-7

网站地图