专利状态
一种锁具及柜体
专利申请进度
申请
2023-07-04
授权
2024-01-23
预估到期
2033-07-04
专利基础信息
申请号 申请日
授权公布号 授权公告日
分类号
分类
申请人名称 深圳竹芒科技有限公司
申请人地址
专利法律状态
  • 2024-01-23
    授权
    状态信息
    授权
摘要
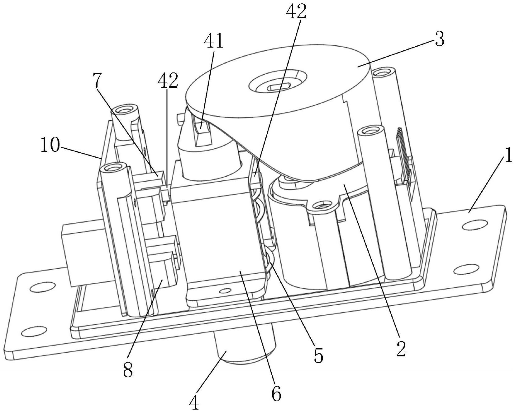
本实用新型公开了一种锁具及柜体,锁具包括安装座、可转动曲面凸轮和可伸缩锁栓;可转动曲面凸轮和可伸缩锁栓设置在安装座中,且可转动曲面凸轮的轴线和可伸缩锁栓的轴线相平行;可转动曲面凸轮上设置有高低曲面,高低曲面包括低区曲面以及可过渡至低区曲面的高区曲面,可伸缩锁栓的一端可移动地设置于高低曲面上。本实用新型的锁具,在驱动力驱动下,可伸缩锁栓上抵顶在高低曲面上的一端与高低曲面之间能够产生相对转动,从而实现可伸缩锁栓的伸出和缩回,锁具结构简单,不容易损坏。

返回首页 | 品牌大全 | 品牌排行 | 品牌问答 | 品牌资讯 | 品牌价值 | 关于我们 | 联系我们 | 免责声明

Copyright 2013-2020 品牌门户,牌子123(www.paizi123.cn) 版权所有 备案号:苏ICP备13009020号-7

网站地图