专利状态
一种锁具及其柜体
专利申请进度
申请
2023-07-25
授权
2024-03-15
预估到期
2033-07-25
专利基础信息
申请号 申请日
授权公布号 授权公告日
分类号
分类
申请人名称 深圳竹芒科技有限公司
申请人地址
专利法律状态
  • 2024-03-15
    授权
    状态信息
    授权
摘要
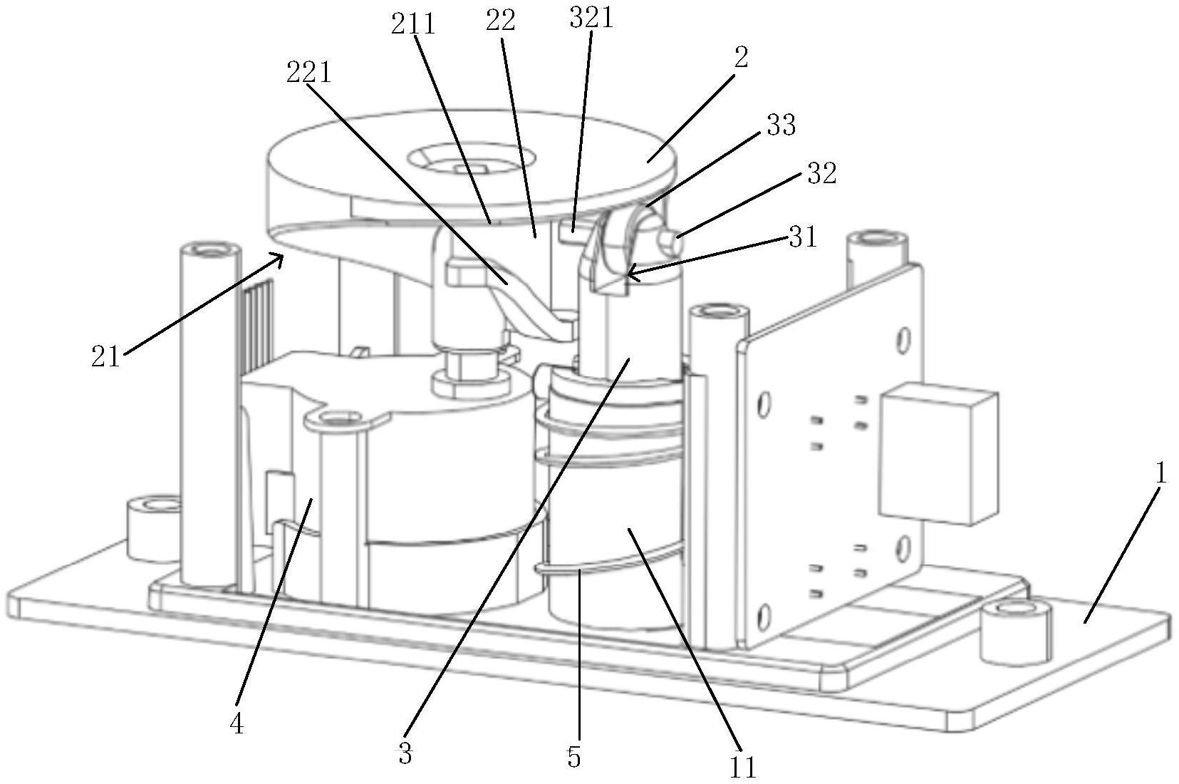
本实用新型属于锁具技术领域,涉及一种锁具及其柜体。锁具包括安装座、可转动曲面凸轮和可伸缩锁栓;可转动曲面凸轮能够转动地安装在安装座中,可伸缩锁栓可伸缩地穿设在安装座中,可转动曲面凸轮上设置有高低曲面,高低曲面包括低区曲面以及可过渡至低区曲面的高区曲面;可伸缩锁栓的一端可移动地置于高低曲面上。低区曲面上设置有顶推部,可伸缩锁栓处于与低区曲面相对且未缩回至锁具中时,顶推部能够在可转动曲面凸轮带动下朝低区曲面方向顶推可伸缩锁栓。异物进入到锁具中可伸缩锁栓难以缩回时,顶推部能够在可转动曲面凸轮带动下朝低区曲面方向顶推可伸缩锁栓,从而使得可伸缩锁栓能够正常缩回至锁具中。

返回首页 | 品牌大全 | 品牌排行 | 品牌问答 | 品牌资讯 | 品牌价值 | 关于我们 | 联系我们 | 免责声明

Copyright 2013-2020 品牌门户,牌子123(www.paizi123.cn) 版权所有 备案号:苏ICP备13009020号-7

网站地图