专利状态
一种居中式手机夹具及手机贴膜装置
专利申请进度
申请
2023-08-25
授权
2024-03-15
预估到期
2033-08-25
专利基础信息
申请号 申请日
授权公布号 授权公告日
分类号
分类
申请人名称 深圳竹芒科技有限公司
申请人地址
专利法律状态
  • 2024-03-15
    授权
    状态信息
    授权
摘要
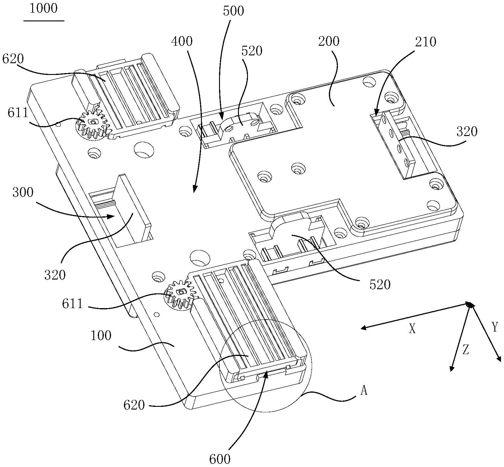
本实用新型涉及手机夹具技术领域,具体涉及一种居中式手机夹具及手机贴膜装置。居中式手机夹包括第一夹持机构和第二夹持机构,第一夹持机构能在第一方向上对手机进行夹持,第二夹持机构能在垂直于第一方向的第二方向上对手机进行夹持,第一夹持机构与第二夹持机构配合实现手机的居中夹持;具体地,居中式手机夹还包括第三夹持机构,第三夹持机构能在第二方向上对手机摄像模组进行夹持,因此,相较于现有技术而言,本实用新型实施例的居中式手机夹能为手机提供更充足的夹持力,夹持稳定性更高。

返回首页 | 品牌大全 | 品牌排行 | 品牌问答 | 品牌资讯 | 品牌价值 | 关于我们 | 联系我们 | 免责声明

Copyright 2013-2020 品牌门户,牌子123(www.paizi123.cn) 版权所有 备案号:苏ICP备13009020号-7

网站地图