专利状态
充电宝共享装置
专利申请进度
申请
2017-07-26
授权
2018-03-27
预估到期
2027-07-26
专利基础信息
申请号 申请日
授权公布号 授权公告日
分类号
分类
申请人名称 深圳市云充吧科技有限公司
申请人地址
专利法律状态
  • 2021-07-06
    专利权的保全及其解除
    状态信息
    专利权的保全IPC(主分类):G07F17/00授权公告日:20180327登记生效日:20210616
  • 2018-03-27
    授权
    状态信息
    授权
摘要
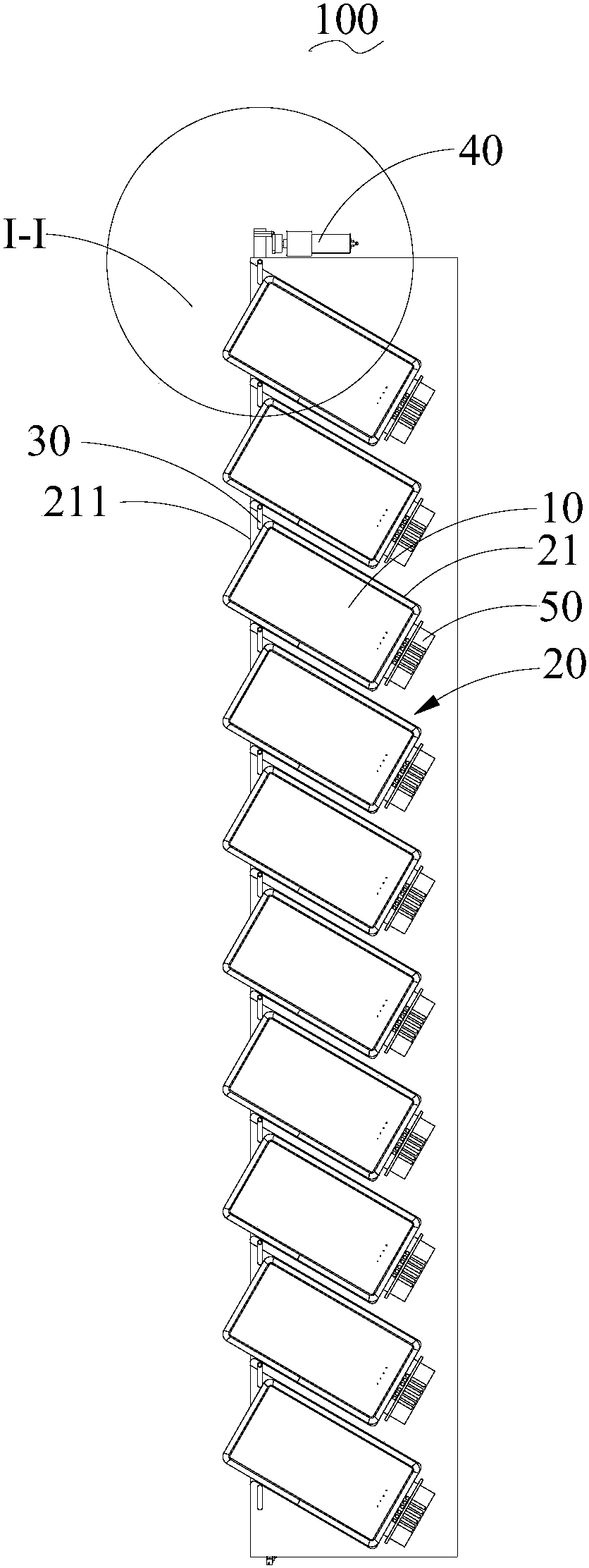
本实用新型提供一种充电宝共享装置,包括存放架、多个锁紧件及驱动部。需要使用充电宝时,控制驱动部,使所述驱动部驱动所述锁紧件进行旋转以放松所述充电宝,从而能够将所述充电宝从所述存放槽内取出,用于为手机、平板等移动电子设备充电。充电完成后,将所述充电宝放入所述存放槽内后,所述驱动部驱动所述锁紧件进行旋转以锁紧所述充电宝。从而能够方便所述充电宝的取用,减少出行负担。并且,所述充电宝共享装置结构简单,能够固定于任意位置,有效利用有限的空间资源。

返回首页 | 品牌大全 | 品牌排行 | 品牌问答 | 品牌资讯 | 品牌价值 | 关于我们 | 联系我们 | 免责声明

Copyright 2013-2020 品牌门户,牌子123(www.paizi123.cn) 版权所有 备案号:苏ICP备13009020号-7

网站地图