专利状态
一种抗震耐高温ABS组装定位胶的喷涂装置
专利申请进度
申请
2022-09-30
授权
2023-02-24
预估到期
2032-09-30
专利基础信息
申请号 申请日
授权公布号 授权公告日
分类号
分类
申请人名称 浙江固特新材料科技股份有限公司
申请人地址
专利法律状态
  • 2023-02-24
    授权
    状态信息
    授权
摘要
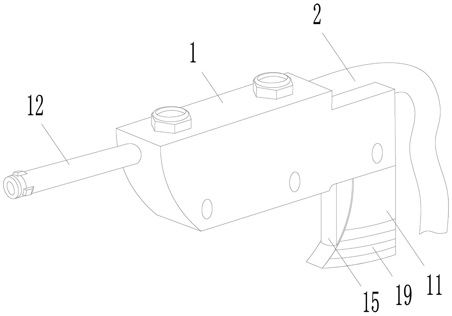
本实用新型具体涉及一种抗震耐高温ABS组装定位胶的喷涂装置,包括设置有开关的枪身,枪身前端设置有贯穿枪身的枪管,枪管尾端连接有料管,料管上设置有与开关连接的驱动阀门;枪管内套接有导热管,导热管前端与枪管前端可拆卸连接,导热管尾端与料管相通;枪身内设置有环绕枪管中部的加热装置,加热装置与导热管相接。本实用新型喷涂装置内设置有导热管,能够加热溶胶,防止溶胶提前凝固。所设导热管为可拆卸结构,当需要清洗时,只需要将导热管拆下即可,避免了复杂操作。

返回首页 | 品牌大全 | 品牌排行 | 品牌问答 | 品牌资讯 | 品牌价值 | 关于我们 | 联系我们 | 免责声明

Copyright 2013-2020 品牌门户,牌子123(www.paizi123.cn) 版权所有 备案号:苏ICP备13009020号-7

网站地图