专利状态
一种热熔胶制粒设备中的滚筒轴安装结构
专利申请进度
申请
2021-07-31
授权
2022-03-15
预估到期
2031-07-31
专利基础信息
申请号 申请日
授权公布号 授权公告日
分类号
分类
申请人名称 浙江固特新材料科技股份有限公司
申请人地址
专利法律状态
  • 2022-03-15
    授权
    状态信息
    授权
摘要
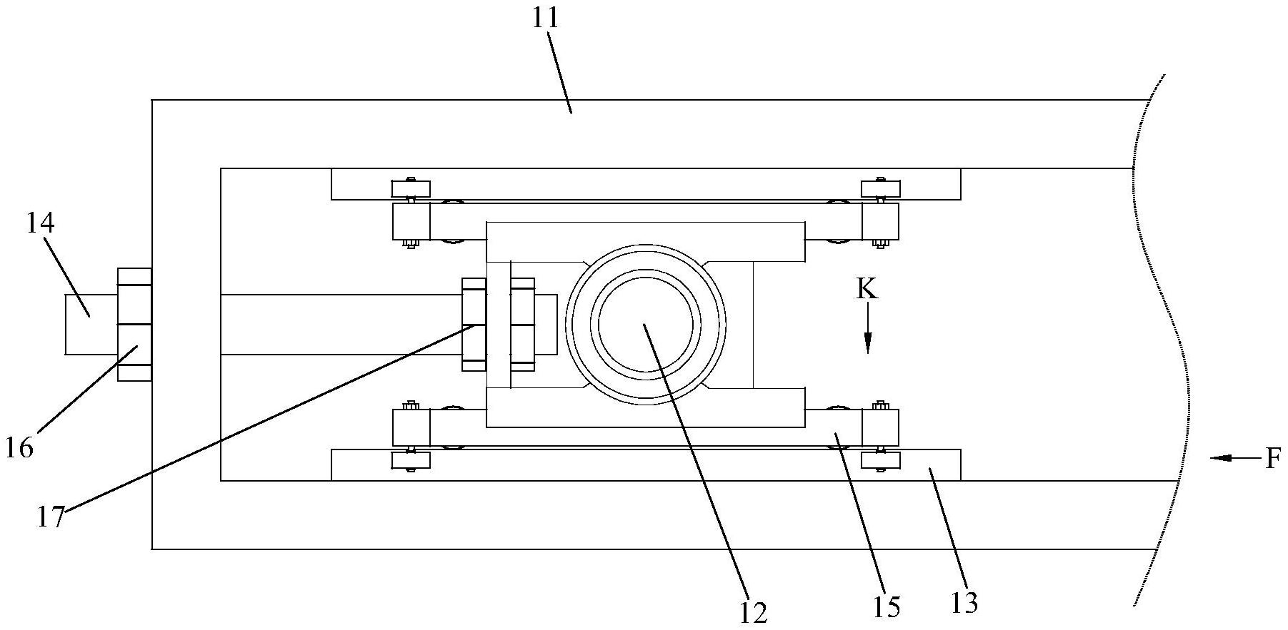
本实用新型涉及一种热熔胶制粒设备中的滚筒轴安装结构,包括支撑框架、轴承座、导轨和张紧用螺杆;导轨设置两根,呈上下对应地安装在支撑框架上,轴承座设置在两根导轨之间,轴承座的顶部和底部均安装一套滚轮组件,滚轮组件与导轨配合,使轴承座能沿导轨移动可调;张紧用螺杆的一端与支撑框架的一侧连接,张紧用螺杆的另一端与轴承座的一侧连接。本实用新型中的轴承座安装方便、在安装过程中其安装位置方便调节,调节到位后利用张紧用螺杆进行固定。

返回首页 | 品牌大全 | 品牌排行 | 品牌问答 | 品牌资讯 | 品牌价值 | 关于我们 | 联系我们 | 免责声明

Copyright 2013-2020 品牌门户,牌子123(www.paizi123.cn) 版权所有 备案号:苏ICP备13009020号-7

网站地图