专利状态
一种热熔胶制粒后的定量输送装置
专利申请进度
申请
2021-07-31
授权
2022-02-01
预估到期
2031-07-31
专利基础信息
申请号 申请日
授权公布号 授权公告日
分类号
分类
申请人名称 浙江固特新材料科技股份有限公司
申请人地址
专利法律状态
  • 2022-02-01
    授权
    状态信息
    授权
摘要
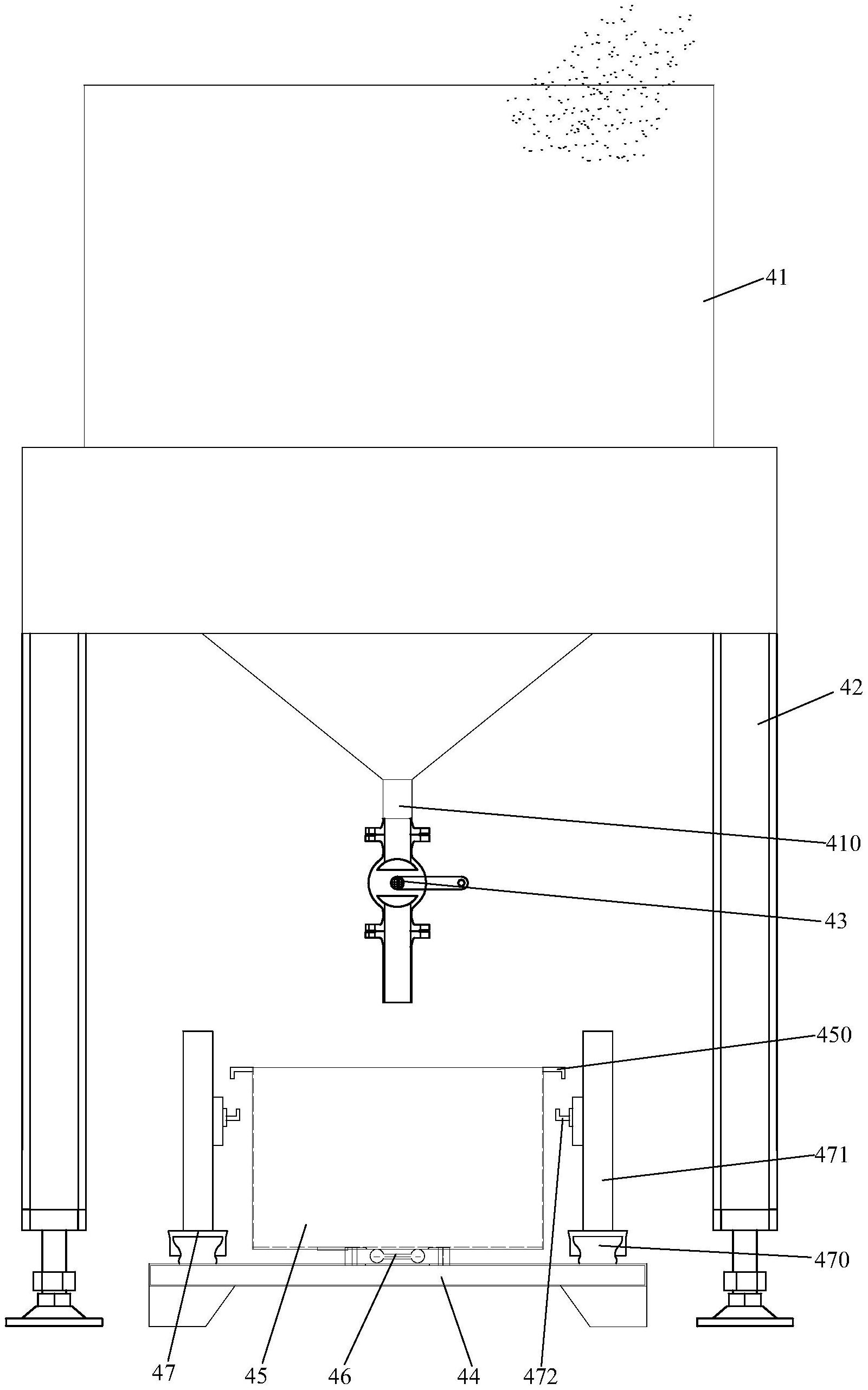
本实用新型涉及一种热熔胶制粒后的定量输送装置,出料筒安装在一个支撑架上,出料筒底部连接有出料口,并在出料口处安装有出料控制阀门,称重传感器安装在底座平台上,且位于出料口下方,盛放箱放置在称重传感器上,盛放箱内套装有热熔胶颗粒包装袋;称重传感器与出料控制阀门通信连接,称重传感器与出料控制阀门配合工作使定量的热熔胶颗粒出料至热熔胶颗粒包装袋中;输出机构安装在底座平台上,其用于将装有定量热熔胶颗粒的盛放箱向外输出。本定量输送装置确保了每袋热熔胶颗粒的重量是一致的;另外,称重好的盛放箱利用导轨向外输出,节省了人力。

返回首页 | 品牌大全 | 品牌排行 | 品牌问答 | 品牌资讯 | 品牌价值 | 关于我们 | 联系我们 | 免责声明

Copyright 2013-2020 品牌门户,牌子123(www.paizi123.cn) 版权所有 备案号:苏ICP备13009020号-7

网站地图