专利状态
一种简易热熔胶颗粒筛料装置
专利申请进度
申请
2021-07-31
授权
2022-02-01
预估到期
2031-07-31
专利基础信息
申请号 申请日
授权公布号 授权公告日
分类号
分类
申请人名称 浙江固特新材料科技股份有限公司
申请人地址
专利法律状态
  • 2022-02-01
    授权
    状态信息
    授权
摘要
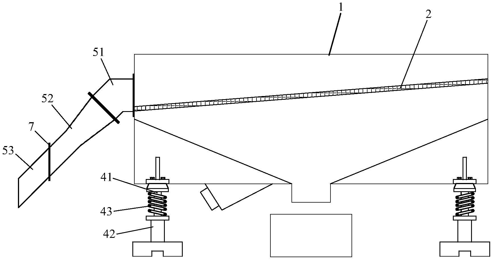
本实用新型涉及一种简易热熔胶颗粒筛料装置,其包括壳体、筛网、振子、减震底座和出料管道;壳体安装在减震底座上,振子安装在壳体底部,用于产生震动;壳体顶部敞开,筛网呈倾斜地安装在壳体内,壳体底部具有废料出口,在与筛网低端连接的那一侧壳体上设置有出料口,出料管道的一端与出料口连接,出料管道的另一端与提升机底部进料口连接;出料管道包括依次连接的弯管、软管和直管,弯管和直管均为硬管,弯管与壳体的出料口连接,直管与提升机底部进料口连接。本申请出料管道中设置一段软管,软管的两端是和硬管连接的,这样壳体在上下震动过程中,由于软管具有一定形变能力,因此不会对出料管道造成拉扯损伤。

返回首页 | 品牌大全 | 品牌排行 | 品牌问答 | 品牌资讯 | 品牌价值 | 关于我们 | 联系我们 | 免责声明

Copyright 2013-2020 品牌门户,牌子123(www.paizi123.cn) 版权所有 备案号:苏ICP备13009020号-7

网站地图