专利状态
一种高韧度耐高温POE家用空滤线胶的发生装置
专利申请进度
申请
2022-09-30
授权
2023-02-24
预估到期
2032-09-30
专利基础信息
申请号 申请日
授权公布号 授权公告日
分类号
分类
申请人名称 浙江固特新材料科技股份有限公司
申请人地址
专利法律状态
  • 2023-02-24
    授权
    状态信息
    授权
摘要
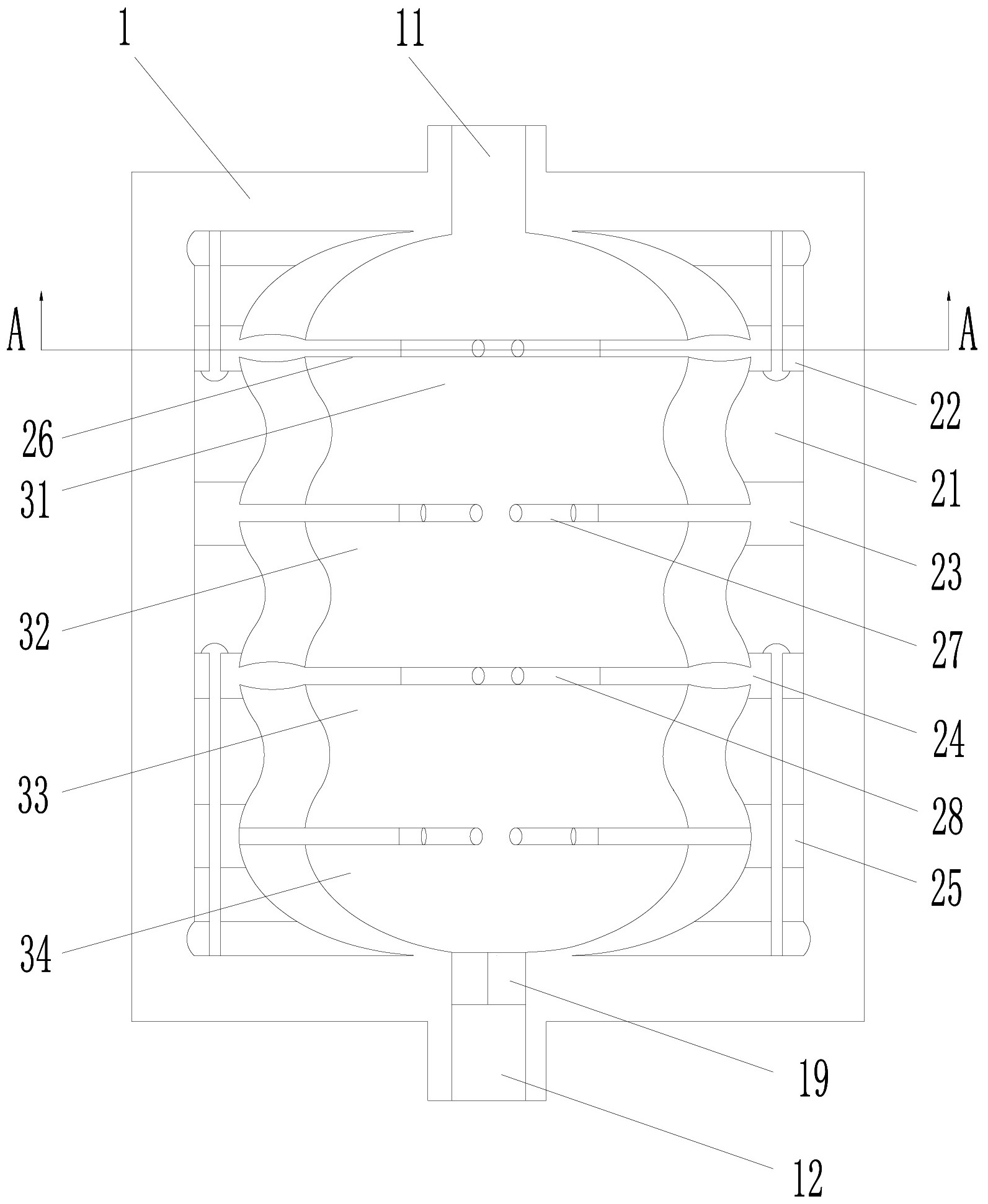
本实用新型具体涉及一种高韧度耐高温POE家用空滤线胶的发生装置,包括罐体,罐体内设置有组合腔体以及围绕在组合腔体外侧的安装腔,组合腔体包括由上至下依次相连的第一混合腔、第一加热腔、第二混合腔、第二加热腔,安装腔内由上至下依次设置有第一转轮、第一加热环、第二转轮、第二加热环,第一转轮和第二转轮内侧均设置有若干位于组合腔体内且朝向圆心的搅拌杆,第一加热环和第二加热环内侧均设置有位于组合腔体内的导热杆,第一转轮的旋转方向与第二转轮相反。本实用新型设置有若干单独运行的搅拌装置,通过不同转向的搅拌装置,在保证了整个混合过程的搅拌效率的同时,避免了对溶胶产生过度的离心力,减少杂质的附着。

返回首页 | 品牌大全 | 品牌排行 | 品牌问答 | 品牌资讯 | 品牌价值 | 关于我们 | 联系我们 | 免责声明

Copyright 2013-2020 品牌门户,牌子123(www.paizi123.cn) 版权所有 备案号:苏ICP备13009020号-7

网站地图