专利状态
一种击实装置
专利申请进度
申请
2022-11-08
授权
2023-06-20
预估到期
2032-11-08
专利基础信息
申请号 申请日
授权公布号 授权公告日
分类号
分类
申请人名称 山西建设投资集团有限公司
申请人地址
专利法律状态
  • 2023-06-20
    授权
    状态信息
    授权
摘要
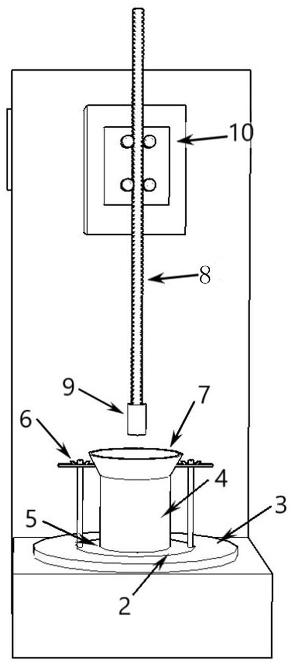
本实用新型涉及检测设备,具体涉及一种击实装置;包括装置支座,装置支座的底部上端设置有固定支座,固定支座上设有转动板,转动板上设置有击实筒,转动板开设有与击实筒相匹配的凹槽,击实筒的底端设置于凹槽中,击实筒的顶端旋配有击实护筒,所述击实护筒的外侧壁上两侧分别固接有一根横杆,每根横杆的边缘开设有缺口,位于击实筒两侧的转动板上分别固接有一根螺柱,且螺柱设置位置与缺口对应,所述螺柱的顶端旋配有螺母;装置支座的侧壁安装有击实锤机构。

返回首页 | 品牌大全 | 品牌排行 | 品牌问答 | 品牌资讯 | 品牌价值 | 关于我们 | 联系我们 | 免责声明

Copyright 2013-2020 品牌门户,牌子123(www.paizi123.cn) 版权所有 备案号:苏ICP备13009020号-7

网站地图