专利状态
一种钢筋绑扎器
专利申请进度
申请
2023-02-20
授权
2023-12-05
预估到期
2033-02-20
专利基础信息
申请号 申请日
授权公布号 授权公告日
分类号
分类
申请人名称 山西建设投资集团有限公司
申请人地址
专利法律状态
  • 2023-12-05
    授权
    状态信息
    授权
摘要
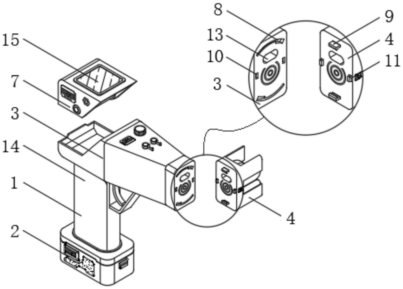
本实用新型涉及钢筋绑扎机器技术领域,且公开了一种钢筋绑扎器,包括底部卡接有电池盒的不锈钢握把,所述不锈钢握把的顶部固定安装有用于连接的枪身,所述枪身的正面通过卡接结构连接有可更换的组装头,所述组装头通过止动结构限制其移动,所述组装头的一侧卡接有可上下滑动的防护板,所述组装头的正面固定安装有用于导向的弧形扣。该钢筋绑扎器,通过组装头和防护板的配合设置,在使用的时候防护板会挡在弧形扣的侧面,以防操作者不小心将手指伸进弧形扣中,将组装头顶在需要绑扎的钢筋上时,防护板会向两侧打开,方便对钢筋进行绑扎,绑扎结束之后防护板又会将弧形扣挡住,降低了出现意外的概率,提高了使用时的安全性。

返回首页 | 品牌大全 | 品牌排行 | 品牌问答 | 品牌资讯 | 品牌价值 | 关于我们 | 联系我们 | 免责声明

Copyright 2013-2020 品牌门户,牌子123(www.paizi123.cn) 版权所有 备案号:苏ICP备13009020号-7

网站地图