专利状态
一种可旋转式模板安装测量装置
专利申请进度
申请
2022-11-09
授权
2023-06-02
预估到期
2032-11-09
专利基础信息
申请号 申请日
授权公布号 授权公告日
分类号
分类
申请人名称 华润建筑有限公司
申请人地址
专利法律状态
  • 2023-06-02
    授权
    状态信息
    授权
摘要
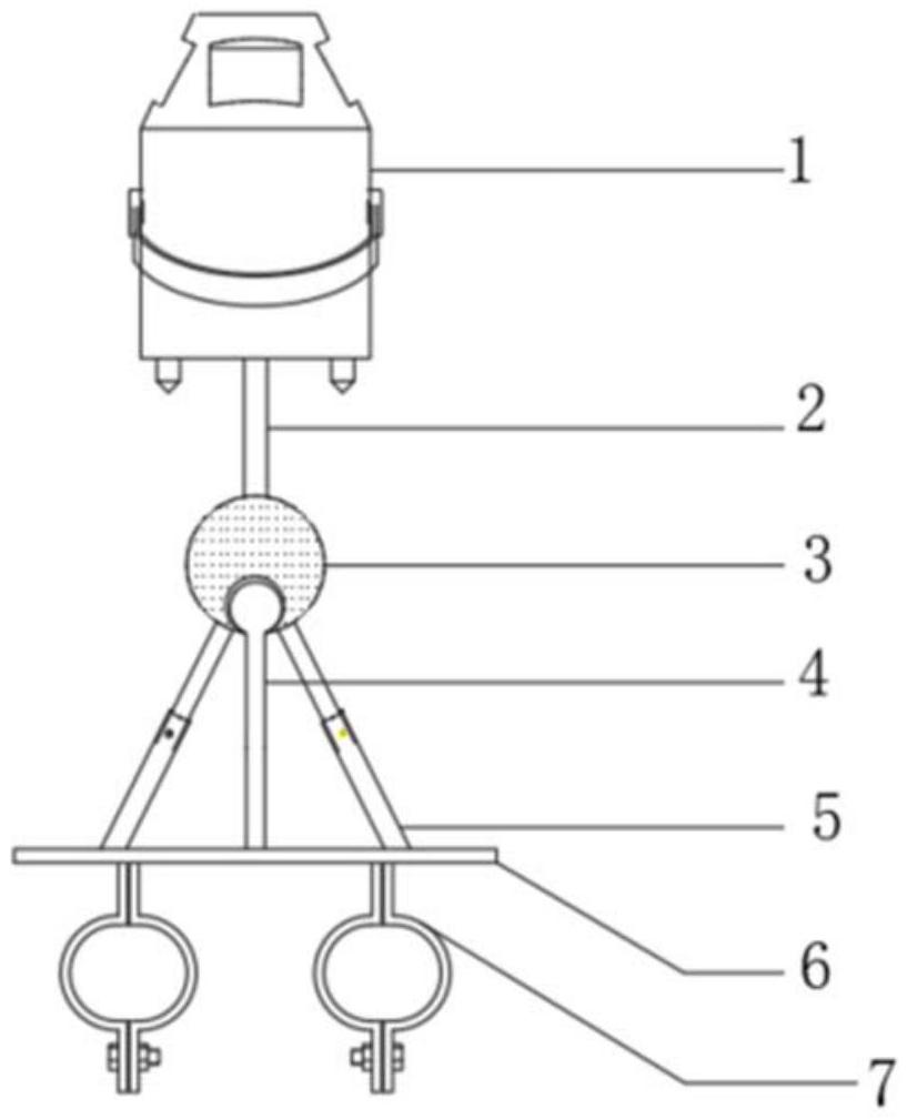
本实用新型公开了一种可旋转式模板安装测量装置,包括:扫平仪以及与所述扫平仪连接的支架组件;其中,所述支架组件包括:与所述扫平仪连接的连接立杆、与所述连接立杆连接的中间支座、与所述中间支座连接用于支撑所述中间支座的多根伸缩杆、以及与所述伸缩杆连接的底座。本实用新型可以实现女儿墙的顺直度和垂直度的检测,有利于女儿墙的一次性结构成型。

返回首页 | 品牌大全 | 品牌排行 | 品牌问答 | 品牌资讯 | 品牌价值 | 关于我们 | 联系我们 | 免责声明

Copyright 2013-2020 品牌门户,牌子123(www.paizi123.cn) 版权所有 备案号:苏ICP备13009020号-7

网站地图