专利状态
公寓床档头
专利申请进度
申请
2021-12-16
授权
2022-04-19
预估到期
2031-12-16
专利基础信息
申请号 申请日
授权公布号 授权公告日
分类号
分类
申请人名称 重庆聚宝教学设备有限公司
申请人地址
专利法律状态
  • 2022-04-19
    授权
    状态信息
    授权
摘要
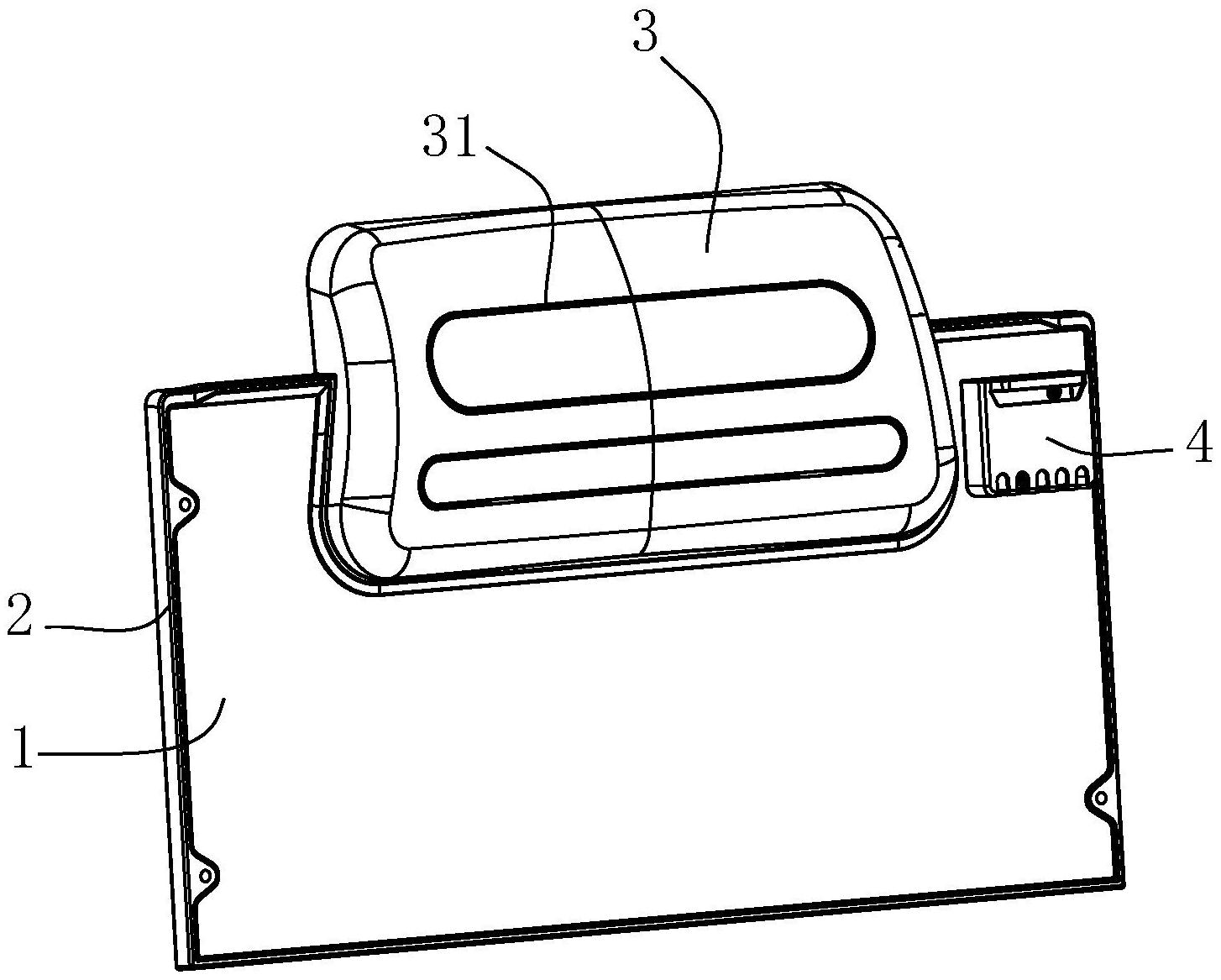
本实用新型公开了一种公寓床档头,包括护栏板,其要点在于:所述护栏板的周向外围包覆有由软质材料制成的柔性边框,靠近护栏板上端中部的区域设置有靠背,该靠背前侧凸出于护栏板表面,并与柔性边框结合为一体。本实用新型通过设置靠背,能够为使用者提供更为可靠和舒适的支撑,配合与靠背一体的柔性边框能够显著提高公寓床的舒适性和安全性,从而提升公寓床产品档次。

返回首页 | 品牌大全 | 品牌排行 | 品牌问答 | 品牌资讯 | 品牌价值 | 关于我们 | 联系我们 | 免责声明

Copyright 2013-2020 品牌门户,牌子123(www.paizi123.cn) 版权所有 备案号:苏ICP备13009020号-7

网站地图