专利状态
一种数字印刷机用自动分切收卷结构
专利申请进度
申请
2019-09-19
授权
2020-10-16
预估到期
2029-09-19
专利基础信息
申请号 申请日
授权公布号 授权公告日
分类号
分类
申请人名称 柳州市彩之星印刷有限公司
申请人地址
专利法律状态
  • 2020-10-16
    授权
    状态信息
    授权
摘要
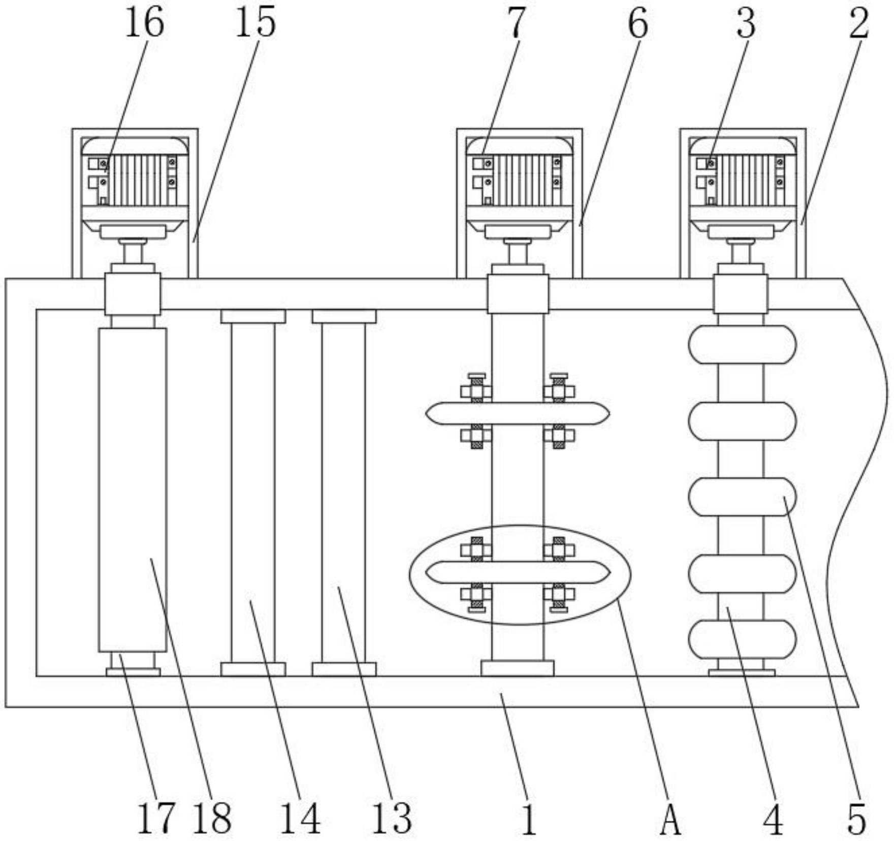
本实用新型公开了一种数字印刷机用自动分切收卷结构,包括框体,所述框体顶部的右侧固定连接有第一电机箱,所述第一电机箱内壁的顶部固定连接有第一电机,所述第一电机的输出轴固定连接有转杆,所述框体顶部的中部固定连接有第二电机箱,所述第二电机箱内壁的顶部固定连接有第二电机,所述第二电机的输出轴固定连接有圆杆,所述框体顶部的左侧固定连接有第三电机箱。本实用新型所述的一种数字印刷机用自动分切收卷结构,设有切割刀与导向轮,能够对切割刀进行拆卸,方便调节印刷机印刷的尺寸,功能多样化,使用效果好,还可以无需停机或者降速,提高印刷机的使用效率和印刷质量,带来更好的使用前景。  

返回首页 | 品牌大全 | 品牌排行 | 品牌问答 | 品牌资讯 | 品牌价值 | 关于我们 | 联系我们 | 免责声明

Copyright 2013-2020 品牌门户,牌子123(www.paizi123.cn) 版权所有 备案号:苏ICP备13009020号-7

网站地图