专利状态
一种纸板绿色印刷机用吸尘装置
专利申请进度
申请
2019-09-19
授权
2020-10-16
预估到期
2029-09-19
专利基础信息
申请号 申请日
授权公布号 授权公告日
分类号
分类
申请人名称 柳州市彩之星印刷有限公司
申请人地址
专利法律状态
  • 2020-10-16
    授权
    状态信息
    授权
摘要
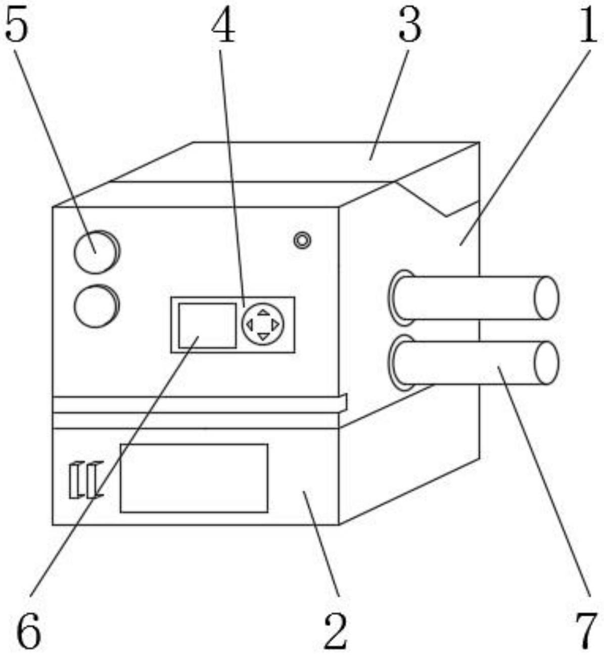
本实用新型公开了一种纸板绿色印刷机用吸尘装置,包括装置主体,所述装置主体的一侧外表面设置有可拆卸吸尘管道,所述装置主体的前端外表面设置有操作板与旋钮,所述旋钮位于操作板的一侧。本实用新型所述的一种纸板绿色印刷机用吸尘装置,通过设置的灰尘收集机构,灰尘收集机构能够在工作过程中提供灰尘的收集功能,通过其内部的收集功能,可以防止灰尘对外部环境的破坏,也方便进行后续的处理,保护环境的同时也更有效的实现了吸尘效果,通过设置的收纳机构,收纳机构提供一种简单实用的收纳结构,能够方便使用过后的吸尘管道进行收纳,方便下一次的使用的同时也进行了很好的维护,也提高了吸尘管道的使用寿命。  

返回首页 | 品牌大全 | 品牌排行 | 品牌问答 | 品牌资讯 | 品牌价值 | 关于我们 | 联系我们 | 免责声明

Copyright 2013-2020 品牌门户,牌子123(www.paizi123.cn) 版权所有 备案号:苏ICP备13009020号-7

网站地图