专利状态
电子设备
专利申请进度
申请
2021-12-31
申请公布
2022-05-17
授权
2024-03-12
预估到期
2041-12-31
专利基础信息
申请号 申请日
授权公布号 授权公告日
分类号
分类
申请人名称 歌尔股份有限公司
申请人地址
专利法律状态
  • 2024-03-12
    授权
    状态信息
    授权
  • 2022-06-03
    实质审查的生效
    状态信息
    实质审查的生效;IPC(主分类):H04R9/02;申请日:20211231
  • 2022-05-17
    公布
    状态信息
    公布
摘要
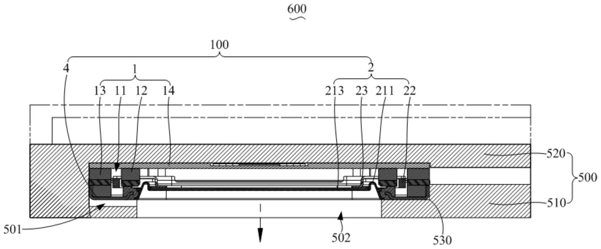
本发明公开一种电子设备,该电子设备包括机壳和发声装置,机壳内设有安装腔室,机壳还设有与安装腔室连通的出声口,发声装置设于安装腔室内,发声装置包括磁路系统和振动系统,磁路系统设有磁间隙,磁路系统呈中空设置,以限定出容纳空间,振动系统包括振膜组件、音圈及骨架,振膜组件位于容纳空间内,音圈插设于磁间隙内,骨架的一端与振膜组件相连,骨架的另一端伸入磁间隙,并与音圈相连;其中,振膜组件与出声口正对设置。本发明提供的电子设备将发声装置的振动辐射面放置在磁路系统中间,并通过骨架将音圈与振动辐射面连接,传递运动载荷,不仅极大的降低了发声装置的厚度尺寸,还有效降低高频谐振,提高声学性能,且方便加工和装配。

返回首页 | 品牌大全 | 品牌排行 | 品牌问答 | 品牌资讯 | 品牌价值 | 关于我们 | 联系我们 | 免责声明

Copyright 2013-2020 品牌门户,牌子123(www.paizi123.cn) 版权所有 备案号:苏ICP备13009020号-7

网站地图