专利状态
一种颗粒改型机
专利申请进度
申请
2014-08-15
授权
2014-12-31
预估到期
2024-08-15
专利基础信息
申请号 申请日
授权公布号 授权公告日
分类号
分类
申请人名称 佛山市溶洲建筑陶瓷二厂有限公司
申请人地址
专利法律状态
  • 2020-10-09
    专利权质押合同登记的生效、变更及注销
    状态信息
    专利权质押合同登记的生效、变更及注销
  • 2020-09-18
    专利实施许可合同备案的生效、变更及注销
    状态信息
    专利实施许可合同备案的生效 IPC(主分类):B02C18/10 合同备案号:X2020980005443 让与人:佛山市溶洲建筑陶瓷二厂有限公司 受让人:广东耀达融资租赁有限公司 实用新型名称:一种颗粒改型机 授权公告日:20141231 许可种类:独占许可 备案日期:20200827
  • 2014-12-31
    授权
    状态信息
    授权
摘要
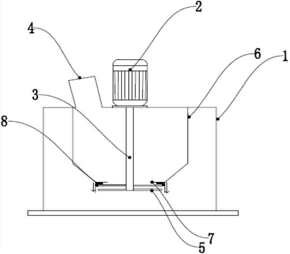
一种颗粒改型机,其包括电机、中心轴、进料口、飞刀和破碎筒;所述破碎筒的顶部设置有电机和进料口,所述中心轴穿过破碎筒,一端与所述电机的输出轴连接,另一端安装飞刀,所述破碎筒内还安装有挡圈,所述挡圈设置于飞刀的上方。本实用新型是在飞刀的高速切削下变成符合生产需要的颗粒,并且颗粒大小均匀规整,大幅提高了物料的合格度,使得生产出来的产品具有优良的物理特性,提高了产品的品质,同时通过安装挡圈阻挡那些湿度高的泥团粘在内壁,提高了颗粒的出品率,而且整个结构设计简单,操作方便,制造成本低,生产效率高。

返回首页 | 品牌大全 | 品牌排行 | 品牌问答 | 品牌资讯 | 品牌价值 | 关于我们 | 联系我们 | 免责声明

Copyright 2013-2020 品牌门户,牌子123(www.paizi123.cn) 版权所有 备案号:苏ICP备13009020号-7

网站地图