专利状态
一种用于酒坛消毒系统的自动涂石灰装置
专利申请进度
申请
2017-09-19
授权
2018-08-24
预估到期
2027-09-19
专利基础信息
申请号 申请日
授权公布号 授权公告日
分类号
分类
申请人名称 绍兴女儿红酿酒有限公司
申请人地址
专利法律状态
  • 2018-08-24
    授权
    状态信息
    授权
摘要
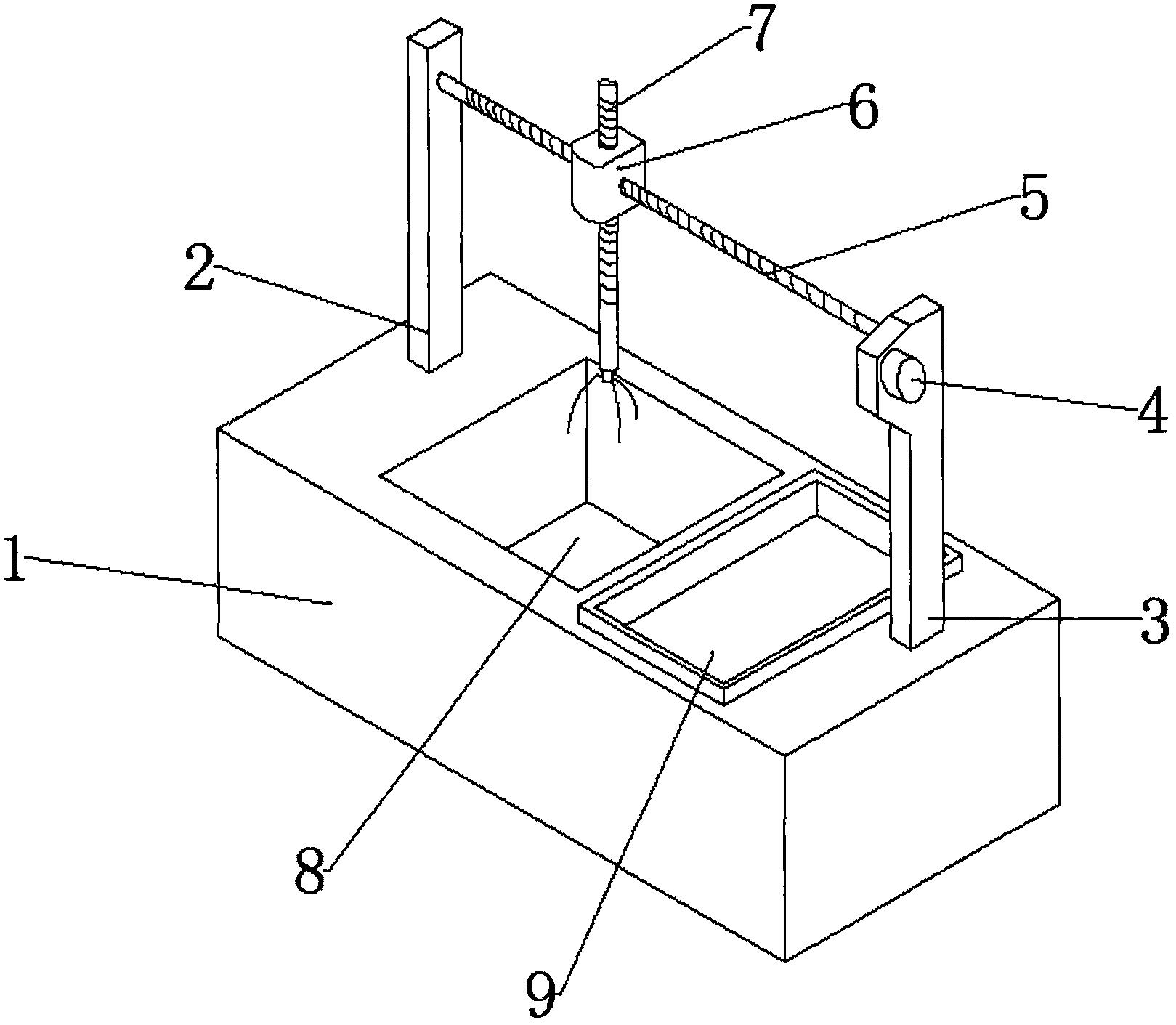
本实用新型公开了一种用于酒坛消毒系统的自动涂石灰装置,包括底座、电机、横向螺杆、石灰池、存放区、推杆、连杆和撑杆,所述左立柱设置在底座的左端中间位置,所述右立柱设置在底座的右端中间位置,所述电机设置在右立柱的顶部后侧位置,所述存放区设置在底座的内侧右端位置,所述连接柱设置在竖向螺杆的末端位置,所述推杆设置在连接柱的内侧中间位置,所述撑杆设置在连接柱的底部圆周位置,所述连杆设置在支杆和连接柱之间,所述撑杆通过支杆与推杆进行连接。该实用新型可根据酒坛的大小灵活更换抓取部位,增强该装置的通用性,降低该装置的使用成本,提高该装置的经济性,便于大规模应用。

返回首页 | 品牌大全 | 品牌排行 | 品牌问答 | 品牌资讯 | 品牌价值 | 关于我们 | 联系我们 | 免责声明

Copyright 2013-2020 品牌门户,牌子123(www.paizi123.cn) 版权所有 备案号:苏ICP备13009020号-7

网站地图