专利状态
一种排水控制器及应用该控制器的清洗装置
专利申请进度
申请
2023-06-26
授权
2024-02-23
预估到期
2033-06-26
专利基础信息
申请号 申请日
授权公布号 授权公告日
分类号
分类
申请人名称 火星人厨具股份有限公司
申请人地址
专利法律状态
  • 2024-02-23
    授权
    状态信息
    授权
摘要
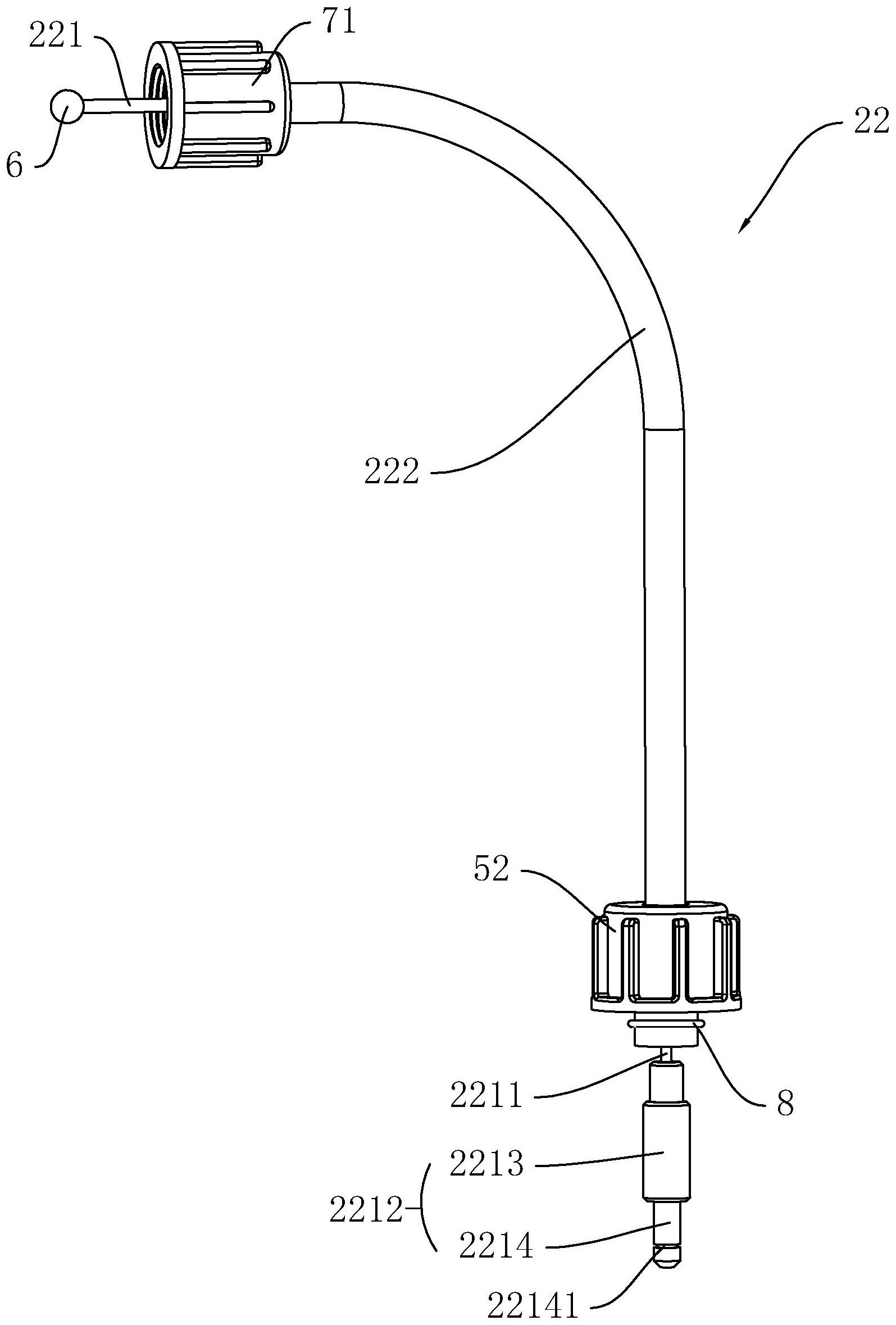
本实用新型公开了一种排水控制器及应用该控制器的清洗装置,包括用于密封排水口的水封件、控制水封件密封或解除密封的控制组件,所述控制组件包括用于供用户操作的控制件、受控制件驱动的传动件,所述传动件的一端连接于水封件,另一端受控制件作用实现两个相反方向的运动,所述水封件受传动件带动也实现两个相反方向的运动,所述控制件所在位置能够位于清洗装置的容液腔之外。本申请通过传动件从低延伸到高,能够在较高处通过操作控制件并由传动件传递来带动水封件实现密封或解除密封,避免用户直接将手伸入到污水中去操作封水件,提升了便利性。

返回首页 | 品牌大全 | 品牌排行 | 品牌问答 | 品牌资讯 | 品牌价值 | 关于我们 | 联系我们 | 免责声明

Copyright 2013-2020 品牌门户,牌子123(www.paizi123.cn) 版权所有 备案号:苏ICP备13009020号-7

网站地图