专利状态
一种可实时直控排气的罐装生产系统及其生产方法
专利申请进度
申请
2021-06-10
申请公布
2022-05-10
授权
2024-03-12
预估到期
2041-06-10
专利基础信息
申请号 申请日
授权公布号 授权公告日
分类号
分类
申请人名称 中国海洋石油集团有限公司
申请人地址
专利法律状态
  • 2024-03-12
    授权
    状态信息
    授权
  • 2022-05-27
    实质审查的生效
    状态信息
    实质审查的生效;IPC(主分类):E21B43/12;申请日:20210610
  • 2022-05-10
    公布
    状态信息
    公布
摘要
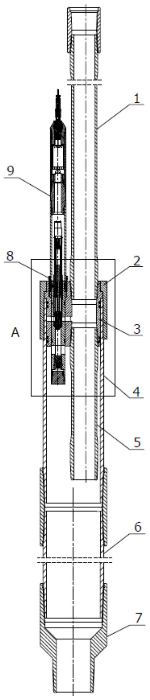
本发明提供一种可实时直控排气的罐装生产系统及其生产方法,在悬挂体上形成第一通道、第二通道和第三通道,提升短节的尾端外壁与第一通道的首端内壁螺纹连接,第一通道的尾端内壁与电泵悬挂短节的首端外壁螺纹连接,直控排气阀穿过第二通道并安装在第二通道内,在悬挂体的外侧安装锁帽,锁帽的尾端内壁与过渡短节的首端外壁螺纹连接,悬挂体的下部和直控排气阀的下部伸入过渡短节内,在过渡短节的尾端与套管管串的首端相连,套管管串的尾端外壁与底端变扣的首端内壁螺纹连接。该生产系统能够在地面实时监测井下罐装生产系统内部压力变化,实现远程控制排气通道的开关,避免潜油电泵气锁,保证油井长期生产的可持续性。

返回首页 | 品牌大全 | 品牌排行 | 品牌问答 | 品牌资讯 | 品牌价值 | 关于我们 | 联系我们 | 免责声明

Copyright 2013-2020 品牌门户,牌子123(www.paizi123.cn) 版权所有 备案号:苏ICP备13009020号-7

网站地图