专利状态
一种用于瓦楞板吊装工装
专利申请进度
申请
2022-10-28
授权
2023-03-03
预估到期
2032-10-28
专利基础信息
申请号 申请日
授权公布号 授权公告日
分类号
分类
申请人名称 中国石油化工集团有限公司
申请人地址
专利法律状态
  • 2023-03-03
    授权
    状态信息
    授权
摘要
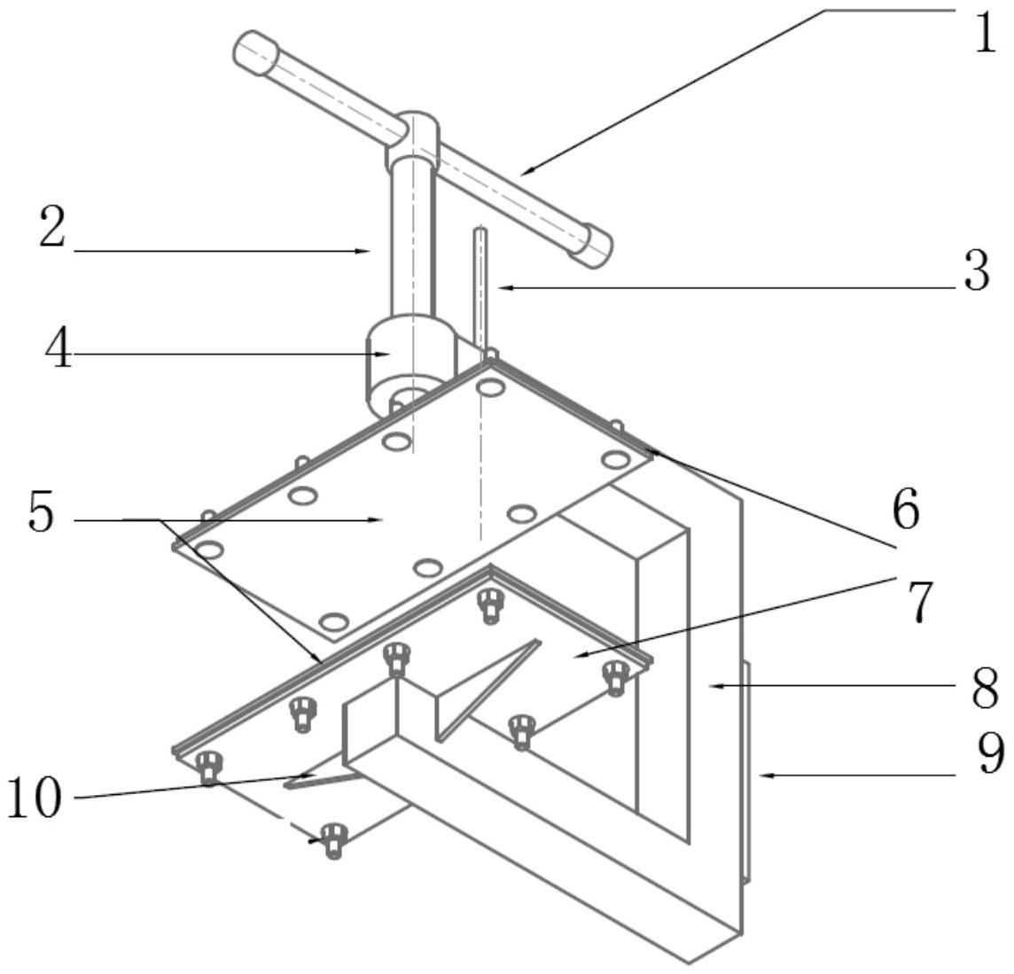
本实用新型公开了一种用于瓦楞板吊装工装,涉及吊装装置技术领域,包括呈U型结构的支撑框,位于支撑框开口侧一端移动连接升降螺纹杆,另一端固定连接第二挤压板;所述升降螺纹杆的底部连接与第二挤压板对称设置的第一挤压板;定位杆平行于升降螺纹杆,定位杆的底部连接第一挤压板,另一端贯穿于支撑框。通过升降螺纹杆带动第一挤压板上下移动,相对第二挤压板距离可调,实现调节第一挤压板和第二挤压板之间的距离来适应性压紧瓦楞板,实现辅助吊装装置将整个瓦楞板吊起。

返回首页 | 品牌大全 | 品牌排行 | 品牌问答 | 品牌资讯 | 品牌价值 | 关于我们 | 联系我们 | 免责声明

Copyright 2013-2020 品牌门户,牌子123(www.paizi123.cn) 版权所有 备案号:苏ICP备13009020号-7

网站地图