专利状态
一种可切换背式或手提式的书包
专利申请进度
申请
2020-07-27
授权
2021-06-18
预估到期
2030-07-27
专利基础信息
申请号 申请日
授权公布号 授权公告日
分类号
分类
申请人名称 祥兴(福建)箱包集团有限公司
申请人地址
专利法律状态
  • 2021-06-18
    授权
    状态信息
    授权
摘要
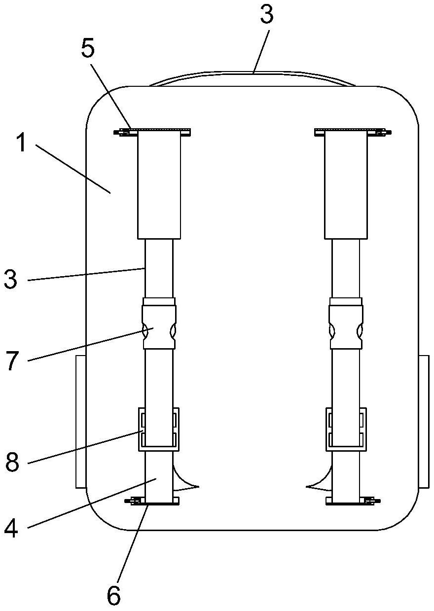
本实用新型公开一种可切换背式或手提式的书包,其包括包体,所述包体上具有提手和两个背带,其特征在于:两个背带均包括上连接带和下连接带,所述上连接带的上端固定连接在包体内部背面的上部,所述包体的背幅上对应各上连接带分别设有上开口,上开口上连接有可启闭的上封口件,所述下连接带的下端固定连接在包体内部背面的下部,所述包体的背幅上对应各下连接带分别设有下开口,下开口上连接有可启闭的下封口件。采用以上结构,可以实现书包的背式和手提式的切换,切换结构简单,实施方便,当书包切换为手提式时,背带完全隐藏于包体内部,这样包体的背部就更加整洁,不存在背带拖地而造成背带污损。

返回首页 | 品牌大全 | 品牌排行 | 品牌问答 | 品牌资讯 | 品牌价值 | 关于我们 | 联系我们 | 免责声明

Copyright 2013-2020 品牌门户,牌子123(www.paizi123.cn) 版权所有 备案号:苏ICP备13009020号-7

网站地图