专利状态
一种可调高度全卧位舒适御眠枕
专利申请进度
申请
2016-07-11
授权
2017-04-26
预估到期
2026-07-11
专利基础信息
申请号 申请日
授权公布号 授权公告日
分类号
分类
申请人名称 维也纳酒店有限公司
申请人地址
专利法律状态
  • 2017-04-26
    授权
    状态信息
    授权
摘要
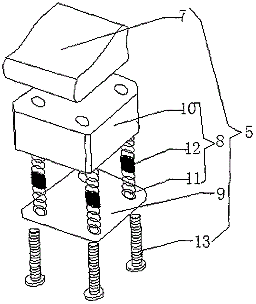
本实用新型公开了一种可调高度全卧位舒适御眠枕,包括有聚氨酯压制成表面呈翼型的枕芯体;所述枕芯体中部设置有坡谷区;所述枕芯体于坡谷区两侧设置有方形槽;所述枕芯体前侧轴向嵌合有理疗棒;所述方形槽内活动安装有随动支撑件;所述坡谷区内侧开设有多个通孔;所述随动支撑件包括翼型的顶面;所述顶面底部安装有中间弹性件;所述中间弹性件底部安装有底板座;所述中间弹性件包括海绵体;所述海绵体内侧贯穿有多根弹簧。本实用新型的可调高度全卧位舒适御眠枕,满足不同受众的仰卧、侧卧睡眠习惯,贴合颈部曲线,当人进入睡眠时,使颈部获得更好的支撑力;缓解颈椎酸痛,抑制颈椎疾病发生;多种舒适度调节,可以满足不同个体对软硬度,高度的要求,适合面广。

返回首页 | 品牌大全 | 品牌排行 | 品牌问答 | 品牌资讯 | 品牌价值 | 关于我们 | 联系我们 | 免责声明

Copyright 2013-2020 品牌门户,牌子123(www.paizi123.cn) 版权所有 备案号:苏ICP备13009020号-7

网站地图