专利状态
一种用于什锦果仁的高效高温杀菌装置
专利申请进度
申请
2018-12-26
授权
2019-09-13
预估到期
2028-12-26
专利基础信息
申请号 申请日
授权公布号 授权公告日
分类号
分类
申请人名称 杭州勤耕食品科技有限公司
申请人地址
专利法律状态
  • 2019-09-13
    授权
    状态信息
    授权
摘要
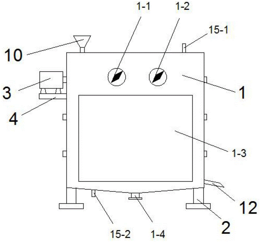
一种用于什锦果仁的高效高温杀菌装置,包括壳体、支脚、电机、电机支架、辊筒轴、辊筒轴承、传动齿轮、辊筒、辊筒支撑架、进料口、引料口、出料口、翅片、换热筒、散热管,辊筒轴一端与电机固定连接,辊筒轴壳体转动连接;传动齿轮设置于辊筒两侧;辊筒支撑架两端连接于辊筒与辊筒轴;进料口设置于壳体顶面一侧;引料口设置于辊筒一端底侧;出料口设置于壳体底端一侧;翅片竖直设置于壳体内部,每个辊筒外壁贴合于换热筒内壁;散热管贯穿于每片翅片。本实用新型换热效率高、受热均匀,杀菌效果均匀,杀菌效率高,系统运行稳定。

返回首页 | 品牌大全 | 品牌排行 | 品牌问答 | 品牌资讯 | 品牌价值 | 关于我们 | 联系我们 | 免责声明

Copyright 2013-2020 品牌门户,牌子123(www.paizi123.cn) 版权所有 备案号:苏ICP备13009020号-7

网站地图