专利状态
一种用于制作低钠坚果制品的冷却机
专利申请进度
申请
2018-12-24
授权
2019-08-27
预估到期
2028-12-24
专利基础信息
申请号 申请日
授权公布号 授权公告日
分类号
分类
申请人名称 杭州勤耕食品科技有限公司
申请人地址
专利法律状态
  • 2019-08-27
    授权
    状态信息
    授权
摘要
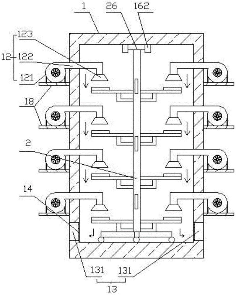
一种用于制作低钠坚果制品的冷却机,包括冷却机壳体、吹风机构以及出风结构,所述冷却机壳体成中空的方形结构,所述冷却机壳体四周侧壁其中一个侧面位开口结构,并设置有开关门;所述吹风机构包括风机、导风管以及吹风口;所述出风结构为三个出风口,三个出风口分别设置在所述冷却机壳体三个侧壁的底部位置,采用多个风机直接作用于冷却机内部,吹风口直接对准坚果放置架上的放置板正上方,每个放置板上对应三个吹风口,能够最大化利用吹风效果,冷却机内部气流自上而下运动,从风机处进入冷却机内部,再从底部两侧出风口排出,形成气流运动,有效带走坚果上的热量,实现快速降温。

返回首页 | 品牌大全 | 品牌排行 | 品牌问答 | 品牌资讯 | 品牌价值 | 关于我们 | 联系我们 | 免责声明

Copyright 2013-2020 品牌门户,牌子123(www.paizi123.cn) 版权所有 备案号:苏ICP备13009020号-7

网站地图